Curiosii for ever!: Car repair manuals for everyone.

CAN Communication System

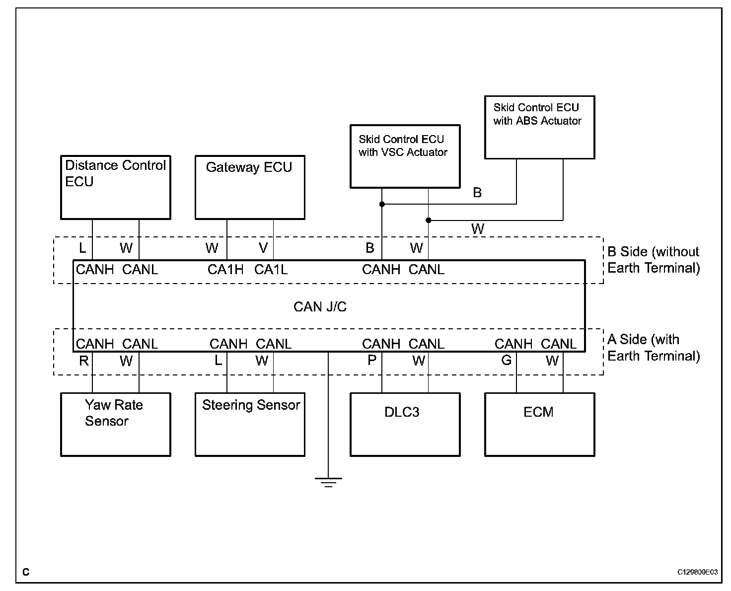
TERMINALS OF ECU

HINT: This describes the standard CAN values for all CAN related components.

1. JUNCTION CONNECTOR (J/C)










a. CAN J/C A side (with earth terminal) and CAN J/C B side (without earth terminal):







b. The terminals on connectors for the J/C:

HINT:
- The connectors connected to the junction connector (J/C) can be distinguished by the colors of the bus lines and the connecting side of the connector.
- The connectors can be connected to any terminals on the same side.




c. WIRING DIAGRAM FOR IDENTIFYING J/C CONNECTORS

2. DLC3







a. Measure the resistance according to the value(s) in the table.

3. SKID CONTROL ECU (Skid control ECU with VSC Actuator)







a. Disconnect the connector from the skid control ECU.
b. Measure the resistance according to the value(s) in the table.

4. SKID CONTROL ECU (Skid control ECU with ABS Actuator)







a. Disconnect the connector from the skid control ECU.
b. Measure the resistance according to the value(s) in the table.

5. STEERING ANGLE SENSOR







a. Disconnect the connector from the steering angle sensor.
b. Measure the resistance according to the value(s) in the table.

6. YAW RATE SENSOR







a. Disconnect the connector from the yaw rate sensor.
b. Measure the resistance according to the value(s) in the table.

7. Distance CONTROL ECU




a. Disconnect the connector from the distance control ECU.




b. Measure the resistance according to the value(s) in the table.

8. ECM







a. Disconnect the connector from the ECM (A24) (B45) (D41).
b. Measure the resistance according to the value(s) in the table.

9. NETWORK GATEWAY ECU







a. Disconnect the connector from the network gateway ECU (E23).
b. Measure the resistance according to the value(s) in the table.