Curiosii for ever!: Car repair manuals for everyone.

Open in One Side of CAN Sub Bus Line

Open in One Side of CAN Sub Bus Line

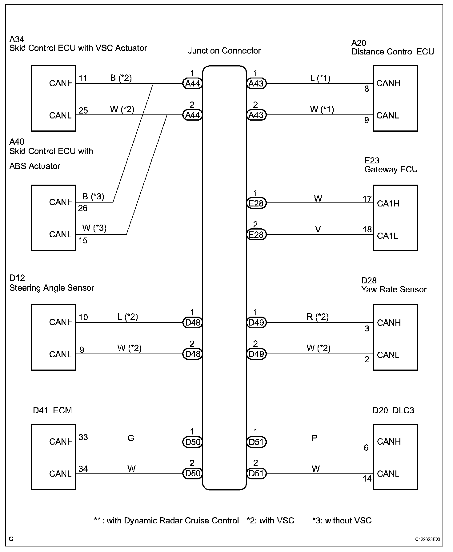
DESCRIPTION




If 2 or more ECUs and / or sensors do not appear on the intelligent tester's "BUS CHECK" screen via the CAN VIM, one side of the CAN sub-bus line may be open. (One side of the CAN-H [sub-bus line] / CAN-L [sub-bus line] of the ECU and / or sensor is open.)

Wiring Diagram:






Step 1-2:




INSPECTION PROCEDURE

HINT:
- The given is the troubleshooting procedure of an open in either CANH or CANL of the ECU A.
- Perform the given inspection for the ECUs (sensors) which are not displayed on the intelligent tester. If a malfunction cannot be identified, then perform the given inspections for the ECUs (sensors) connected to CAN communication.