Curiosii for ever!: Car repair manuals for everyone.

CAN Main Bus Line for Disconnection

CAN Main Bus Line for Disconnection

DESCRIPTION




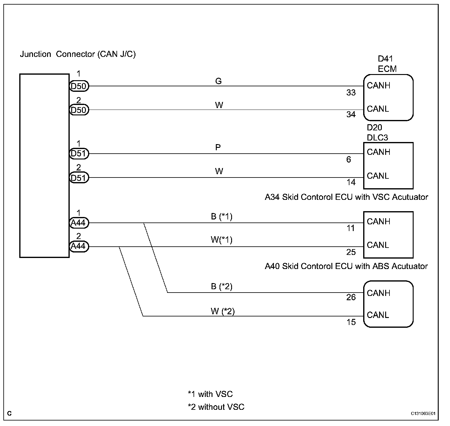
There may be an open circuit in the CAN main bus line and/or the DLC3 sub bus line when the resistance between terminals 6 (CANH) and 14 (CANL) of the DLC3 is 69 ohms or more.

Wiring Diagram:






Step 1-3:




Step 4-6:




Step 7-9:




INSPECTION PROCEDURE