Curiosii for ever!: Car repair manuals for everyone.

Test Mode Procedure

TEST MODE PROCEDURE

1. WARNING LIGHT AND INDICATOR LIGHT CHECK




a. Release the parking brake.

NOTE: Before releasing the parking brake, move the shift lever to the P position for safety.

HINT: When the parking brake is applied or the level of the brake fluid is low, the BRAKE warning light comes on.

b. When the ignition switch is turned on (IG), check that the ABS warning light, VSC warning light, BRAKE warning light and SLIP indicator light come on for approximately 3 seconds.

HINT: If the skid control ECU stores any DTCs, the ABS warning light, VSC warning light and SLIP indicator light come on.

If the indicator remains on or does not come on, proceed to troubleshooting for the light circuit below.

Trouble area
ABS warning light circuit (Remains on)
ABS warning light circuit (Does not come on)
VSC warning light circuit (Remains on)
VSC warning light circuit (Does not come on)
SLIP indicator light circuit (Remains on)
SLIP indicator light circuit (Does not come on)
BRAKE warning circuit (Remains on)
BRAKE warning circuit (Does not come on)

2. SENSOR SIGNAL CHECK BY TEST MODE (WHEN USING INTELLIGENT TESTER:)

When having replaced the ABS & TRACTION actuator assembly and/or yaw rate and acceleration sensor, perform zero point calibration of the yaw rate and acceleration sensor.

HINT:
- If the ignition switch is turned from on (IG) to on (ACC) or to the ACC or off during test mode (SIGNAL CHECK), DTCs of the signal check function will be erased.
- During test mode (SIGNAL CHECK), the skid control ECU records all DTCs of the signal check function. By performing the test mode (SIGNAL CHECK), the codes are erased if normality is confirmed. The remaining codes are the codes where an abnormality was found.

a. Procedure for test mode.




1. Turn the ignition switch off.
2. Connect the intelligent tester to the DLC3.
3. Check that the steering wheel is in the straight-ahead position and move the shift lever to the P position. (Procedure A)
4. Turn the ignition switch on (IG). (Procedure B)




5. Set the intelligent tester to test mode (select "SIGNAL CHECK"). (Procedure C)

HINT: Refer to the intelligent tester operator's manual for further details.




6. Check that the ABS and VSC warning lights are blinking in TEST MODE.

HINT: If the ABS and VSC warning lights do not blink, inspect the ABS warning light circuit and/or VSC warning light circuit.

Trouble area
ABS warning light circuit (Remains on)
ABS warning light circuit (Does not come on)
VSC warning light circuit (Remains on)
VSC warning light circuit (Does not come on)




7. Check the ABS sensor.

HINT: Check that ABS warning light is blinking in TEST MODE and perform the check. (See procedure A to C)

3. ACCELERATION SENSOR CHECK (WHEN USING INTELLIGENT TESTER:)
a. Keep the vehicle in the stationary condition on a level surface for 1 second or more.

HINT: Acceleration sensor check can be performed with the following master cylinder pressure sensor check.

4. MASTER CYLINDER PRESSURE SENSOR CHECK (WHEN USING INTELLIGENT TESTER:)
a. Leave the vehicle in a stationary condition and release the brake pedal for 1 second or more, and quickly depress the brake pedal with a force of 98 N (10 kgf, 22 lbf) or more for 1 second or more.
b. Check ABS warning light stays on for 3 seconds.

HINT:
- Ensure that the ABS warning light comes on.
- While the ABS warning light stays on, continue to depress the brake pedal with a force of 98 N (10 kgf, 22 lbf) or more.
- The ABS warning light comes on for 3 seconds every time brake pedal operation above is performed.

5. SPEED SENSOR CHECK (WHEN USING INTELLIGENT TESTER:)
a. Check the backward signal.
1. Drive the vehicle in reverse for more than 1 second at 2 mph (3 km/h) or higher.

HINT: Drive the vehicle in reverse and check the speed sensor signal. Note that the signal check cannot be completed if the vehicle speed is 28 mph (45 km/h) or more.

b. Check the forward signal.
1. Drive the vehicle straight forward. Accelerate the vehicle to a speed of 28 mph (45 km/h) or higher for several seconds and check that the ABS warning light goes off.

HINT: The signal check may not be completed if the vehicle has its wheels spun or the steering wheel turned during this check.

c. Stop the vehicle.

NOTE:
- Before performing the speed sensor signal check, complete the acceleration sensor and master cylinder pressure sensor checks.
- The speed sensor signal check may not be completed if the speed sensor signal check is started while turning the steering wheel or spinning the wheels.
- After the ABS warning light goes off and if the vehicle speed exceeds 50 mph (80 km/h), a signal check code will be stored again. Decelerate or stop the vehicle before the speed reaches 50 mph (80 km/h).
- If the signal check has not been completed, the ABS warning light blinks while driving and the ABS system does not operate.

HINT: When the signal check has been completed, the ABS warning light goes off while driving and blinks in the test mode pattern while stationary.




d. Check the VSC sensor.
1. Check that the VSC warning light is blinking in TEST MODE and perform the check.

6. YAW RATE SENSOR CHECK (WHEN USING INTELLIGENT TESTER:)
a. Check the VSC warning light is blinking in TEST MODE.
b. Check the zero point voltage of the yaw rate sensor.
1. Keep the vehicle in a stationary condition on a level surface for 1 second or more.




c. Check the output of the yaw rate sensor and the direction of the steering angle sensor.
1. Move the shift lever to the D position and drive the vehicle at a speed of approximately 3 mph (5 km/h), turn the steering wheel either to the left or right 90 ° or more until the vehicle makes a 180 ° turn.
2. Stop the vehicle and move the shift lever to the P position. Check that the skid control buzzer sounds for 3 seconds.

HINT:
- If the skid control buzzer sounds, the signal check is completed normally.
- If the skid control buzzer does not sound, check the skid control buzzer circuit, then perform the signal check again.
- If the skid control buzzer still does not sound, there is a malfunction in the yaw rate sensor, so check the DTC.
- Make a 180 ° turn. At the end of the turn, the direction of the vehicle should be within 180 ° +- 5 ° of its start position.
- Do not spin the wheels.
- Do not turn the ignition switch off while turning.
- Do not move the shift lever to the P position while turning, but change in the vehicle speed, stopping, or driving in reverse is possible.
- Complete the turn within 20 seconds.

7. END OF SENSOR CHECK (WHEN USING INTELLIGENT TESTER:)




a. If the sensor check is completed, the ABS warning light blinks (test mode) when the vehicle stops and the ABS warning light is off when the vehicle is driving.

NOTE:
- When the yaw rate sensor, acceleration sensor, speed sensor and master cylinder pressure sensor checks are completed, the sensor check is completed.
- If the sensor check is not completed, the ABS warning light blinks even while the vehicle is driving and the ABS does not operate.

8. READ DTC OF SIGNAL CHECK FUNCTION (WHEN USING INTELLIGENT TESTER:)
a. Read the DTC(s) by following the tester screen.

NOTE:
- If only the DTCs are displayed, repair the malfunction area and clear the DTCs.
- If the DTCs or test mode codes (DTC of signal check function) are displayed, repair the malfunction area, clear the DTCs and perform the test mode inspection.

HINT: See the list of DTC.

9. DTC OF TEST MODE FUNCTION (SIGNAL CHECK) (WHEN USING INTELLIGENT TESTER:)












HINT:
- The codes in this table are output only in test mode (SIGNAL CHECK).
- See the Trouble Area in the table to proceed with troubleshooting.
- After troubleshooting is completed, check that no DTCs are output.

10. SENSOR SIGNAL CHECK BY TEST MODE (SIGNAL CHECK) (WHEN USING SST CHECK WIRE:)

When having replaced the ABS & TRACTION actuator assembly and/or yaw rate and acceleration sensor, perform zero point calibration of the yaw rate and acceleration sensor.

HINT:
- If the ignition switch is turned from on (IG) to on (ACC) or off during test mode (SIGNAL CHECK), DTCs of the signal check function will be erased.
- During test mode (SIGNAL CHECK), the skid control ECU records all DTCs of the signal check function. By performing the test mode (SIGNAL CHECK), the codes are erased if normality is confirmed. The remaining codes are the codes where an abnormality was found.

a. Procedure for test mode.
1. Turn the ignition switch off.
2. Check that the steering wheel is in the straight-ahead position and move the shift lever to the P position.




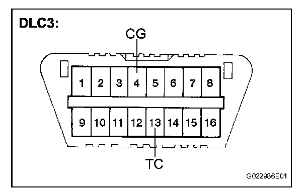
3. Using SST, connect terminals TS and CG of the DLC3.

SST 09843-18040

4. Turn the ignition switch on (IG).




5. Check that the ABS and VSC warning lights are blinking in TEST MODE.

HINT: If the ABS and VSC warning lights do not blink, inspect the ABS warning light circuit and/or VSC warning light circuit.

Trouble area
ABS warning light circuit (Remains on)
ABS warning light circuit (Does not come on)
VSC warning light circuit (Remains on)
VSC warning light circuit (Does not come on)
TS and CG terminal circuit




6. Check the ABS sensor.

HINT: Check that the ABS warning light is blinking in TEST MODE and perform the check.

11. ACCELERATION SENSOR CHECK (WHEN USING SST CHECK WIRE:)
a. Keep the vehicle in the stationary condition on a level surface for 1 second or more.

HINT: Acceleration sensor check can be performed with the following master cylinder pressure sensor check.

12. MASTER CYLINDER PRESSURE SENSOR CHECK (WHEN USING SST CHECK WIRE:)
a. Leave the vehicle in a stationary condition and release the brake pedal for 1 second or more, and quickly depress the brake pedal with a force of 98 N (10 kgf, 22 lbf) or more for 1 second or more.
b. Check that the ABS warning light stays ON for 3 seconds.

HINT:
- Ensure that the ABS warning light comes on.
- While the ABS warning light stays on, continue to depress the brake pedal with a force of 98 N (10 kgf, 22 lbf) or more.
- The ABS warning light comes on for 3 seconds every time the brake pedal operation above is performed.

13. SPEED SENSOR CHECK (WHEN USING SST CHECK WIRE:)
a. Check the backward signal.
1. Drive the vehicle in reverse for more than 1 second at 2 mph (3 km/h) or higher.

HINT: Drive the vehicle in reverse and check the speed sensor signal. Note that the signal check cannot be completed if the vehicle speed is 28 mph (45 km/h) or more.

b. Check the forward signal.
1. Drive the vehicle straight forward. Accelerate the vehicle to a speed of 28 mph (45 km/h) or higher for several seconds and check that the ABS warning light goes off.

HINT: The signal check may not be completed if the vehicle has its wheels spun or the steering wheel turned during this check.

c. Stop the vehicle.

NOTE:
- Before performing the speed sensor signal check, complete the acceleration sensor and master cylinder pressure sensor checks.
- The speed sensor signal check may not be completed if the speed sensor signal check is started while turning the steering wheel or spinning the wheels.
- After the ABS warning light goes off and if vehicle speed exceeds 50 mph (80 km/h), a signal check code will be stored again. Decelerate or stop the vehicle before the speed reaches 50 mph (80 km/h).
- If the signal check has not been completed, the ABS warning light blinks while driving and the ABS system does not operate.

HINT: When the signal check has been completed, the ABS warning light goes off while driving and blinks in the test mode pattern while stationary.




d. Check the VSC sensor.
1. Check that the VSC warning light is blinking in TEST MODE and perform the check.

14. YAW RATE SENSOR CHECK (WHEN USING SST CHECK WIRE:)
a. Check that the VSC warning light is blinking in TEST MODE.
b. Check the zero point voltage of the yaw rate sensor.
1. Keep the vehicle in a stationary condition on a level surface for 1 second or more.




c. Check the output of the yaw rate sensor and the direction of the steering angle sensor.
1. Move the shift lever to the D position and drive the vehicle at a speed of approximately 3 mph (5 km/h), turn the steering wheel either to the left or right 90 ° or more until the vehicle makes a 180 ° turn.
2. Stop the vehicle and move the shift lever to the P position. Check that the skid control buzzer sounds for 3 seconds.

HINT:
- If the skid control buzzer sounds, the signal check is completed normally.
- If the skid control buzzer does not sound, check the skid control buzzer circuit, then perform the signal check again.
- If the skid control buzzer still does not sound, there is a malfunction in the yaw rate sensor, so check the DTC.
- Make a 180 ° turn. At the end of the turn, the direction of the vehicle should be within 180 °+-5 ° of its start position.
- Do not spin the wheels.
- Do not turn the ignition switch off while turning.
- Do not move the shift lever to the P position while turning, but change in the vehicle speed, stopping, or driving in reverse is possible.
- Complete the turn within 20 seconds.

15. END OF SENSOR CHECK (WHEN USING SST CHECK WIRE:)




a. If the sensor check is completed, the ABS warning light blinks (test mode) when the vehicle stops and the ABS warning light is off when the vehicle is driving.

NOTE:
- When the yaw rate sensor, acceleration sensor, speed sensor and master cylinder pressure sensor checks are completed, the sensor check is completed.
- If the sensor check is not completed, the ABS warning light blinks even while the vehicle is driving and the ABS does not operate.

16. READ DTC OF SIGNAL CHECK FUNCTION







a. Using SST, connect terminals TC and CG of the DLC3.

SST 09843-18040

b. Read the number of blinks of the ABS and VSC warning lights.

NOTE:
- If only the DTCs are displayed, repair the malfunction area and clear the DTCs. Check if the ABS and VSC warning lights are normal system codes.
- If the DTCs or test mode codes (DTC of signal check function) are displayed, repair the malfunction area, clear the DTCs and perform the test mode inspection.

HINT:
- If more than 1 malfunction is detected at the same time, the lowest numbered code will be displayed first.
- See the list of DTC.

c. After performing the check, disconnect the SST from terminals TS and CG , TC and CG of the DLC3 and turn the ignition switch on (IG).
d. Turn the ignition switch on (IG).

HINT: If the ignition switch is not turned on (IG) after the SST is removed from the DLC3, the previous TEST MODE will continue.

17. DTC OF TEST MODE FUNCTION (SIGNAL CHECK)












HINT:
- The codes in this table are output only in test mode (SIGNAL CHECK).
- See the Trouble Area in the table to proceed with troubleshooting.
- After troubleshooting is completed, check that no DTCs are output.