Curiosii for ever!: Car repair manuals for everyone.

Main Bearing Cap

Main Bearing Cap





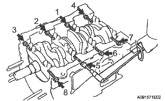
Mark the front side of the bearing cap bolts with paint.
Retighten the bearing cap bolts by 90° in the same sequence as step (h).
Check that each painted mark is now at a 90° angle to the front.
Check that the crankshaft turns smoothly.
Install a new seal washer to the main bearing cap bolt.





Uniformly install and tighten the 8 main bearing cap bolts in the sequence shown in the illustration.
Torque 27 Nm (275 kgf-cm, 20 ft. lbs.)

HINT: Use the short bolt for the marked position (arrow).