Curiosii for ever!: Car repair manuals for everyone.

Main Bearing Cap

Main Bearing Cap





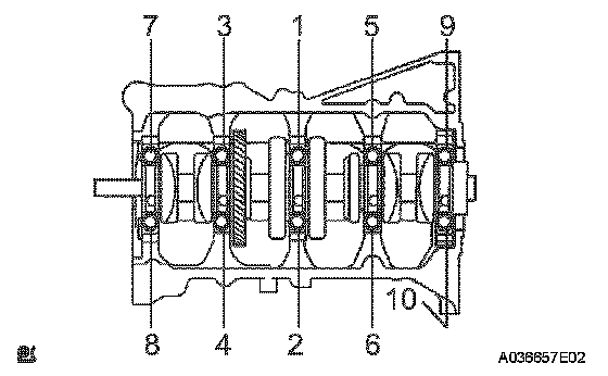
Uniformly install and tighten the 10 main bearing cap bolts in the sequence shown in the illustration.
Torque 20 Nm (204 kgf-cm, 15 ft. lbs.)





Mark the front of the bearing cap bolts with paint.
Retighten the bearing cap bolts by 90° in the numerical order shown in the illustration.
Check that the painted mark is now at a 90° angle to the front.
Check that the crankshaft turns smoothly.