Check Short Circuit
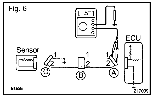
CHECK SHORT CIRCUITa. If the wire harness is ground shorted (Fig. 5), locate the section by conducting a resistance check with the body ground.
b. Check the resistance with the body ground.
1. Disconnect connectors A and C and measure the resistance between terminals 1 and 2 of connector A and the body ground.
HINT: Measure the resistance while lightly shaking the wire harness vertically and horizontally.
If your results match the examples above, a short circuit exists between terminal 1 of connector A and terminal 1 of connector C.
2. Disconnect connector B and measure the resistance between terminal 1 of connector A and the body ground, and terminal 1 of connector B2 and the body ground.
If your results match the examples above, a short circuit exists between terminal 1 of connector B2 and terminal 1 of connector C.