Curiosii for ever!: Car repair manuals for everyone.

Engine Serial Number And Transaxle Serial Number




ENGINE SERIAL NUMBER AND TRANSAXLE SERIAL NUMBER
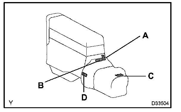
a. The engine serial number is stamped on the cylinder block of the engine, and the transaxle serial number is stamped on the housing, as shown in the illustration.
A: 1ZZ-FE, 2ZZ-GE
B: C59, C60
C: A246E
D: U341F