Curiosii for ever!: Car repair manuals for everyone.

Knock Sensor: Testing and Inspection

INSPECTION

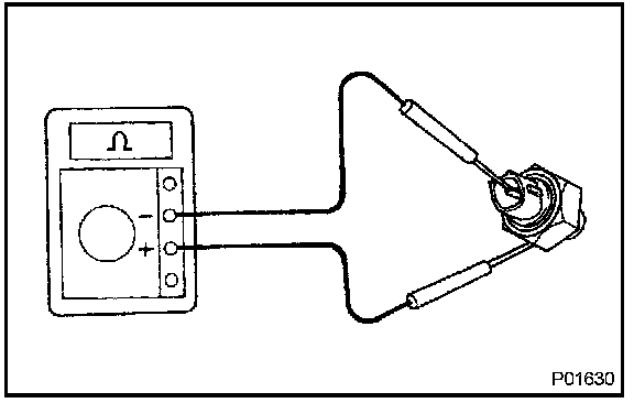
INSPECT KNOCK SENSOR (1MZ-FE ENGINE TYPE)




a. Using an ohmmeter, measure the resistance between the terminal and body.

Standard: 10 kOhms or higher

HINT: If the result is not as specified, replace the sensor.

INSPECT KNOCK SENSOR (3MZ-FE ENGINE TYPE)




a. Using an ohmmeter, measure the resistance between the terminals.

Standard: 120 to 280 kOhms at 20 degrees C (68 degrees F)

HINT: If the result is not as specified, replace the sensor.