Front Wheel Alignment
NOTICE: For Zero Point Calibration information, please refer to: TSB T-SB-0020-8 (3/25/08).ADJUSTMENT
1. INSPECT TIRE
2. MEASURE VEHICLE HEIGHT
Vehicle height:
2AZ-FE COMFORT
2AZ-FE PREMIUM
2AZ-FE SPORT
1MZ-FE COMFORT
1MZ-FE PREMIUM
3MZ-FE SPORT
Measuring points:
A: Ground clearance of front wheel center
B: Ground clearance of lower suspension arm No. 2 set bolt center
C: Ground clearance of strut rod set bolt center
D: Ground clearance of rear wheel center
NOTICE: Before inspecting the wheel alignment, adjust the vehicle height to the specified value.
HINT: Bounce the vehicle at the corners up and down to stabilize the suspension and inspect the vehicle height.
3. INSPECT TOE-IN
Toe-in
HINT:
- Measure A + B when C - D can not be measured.
- If toe-in is not within the specified range, adjust it at the rack ends.
4. ADJUST TOE-IN
a. Remove the rack boot set clips.
b. Loosen the tie rod end lock nuts.
c. Turn the right and left rack ends by an equal amount to adjust the toe-in.
HINT: Try to adjust the toe-in to the center of the specified range.
d. Make sure that the lengths of the right and left rack ends are the same.
e. Torque the tie rod end lock nuts.
Torque: 74 Nm (755 kgf-cm, 55 ft. lbs.)
f. Place the boots on the seats and install the clips.
HINT: Make sure that the boots are not twisted.
g. Perform VSC system calibration.
5. INSPECT WHEEL ANGLE
a. Turn the steering wheel fully left and right, and measure the turning angle.
Wheel turning angle
If the right and left inside wheel angles differ from the specified value, check the right and left rack end lengths.
6. INSPECT CAMBER, CASTER AND STEERING AXIS INCLINATION
a. Put the front wheel on the center of the alignment tester.
b. Set the camber-caster-kingpin gauge at the center of the axle hub or drive shaft.
Camber and steering axis inclination
Caster:
3MZ-FE
1MZ-FE
2AZ-FE SPORT
2AZ-FE Except SPORT
If the caster and steering axis inclination are not within the specified ranges, after the camber has been correctly adjusted, recheck the suspension parts for damaged and/or worn out parts.
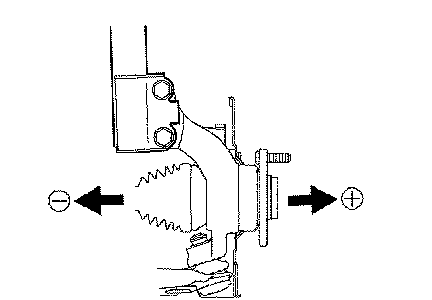
7. ADJUST CAMBER
NOTICE: After the camber has been adjusted, inspect the toe-in.
a. Remove the front wheel.
b. Remove the 2 nuts on the lower side of the shock absorber assembly front LH.
c. Clean the installation surfaces of the shock absorber assembly front LH and the steering knuckle.
d. Temporarily install the 2 nuts.
e. Fully push or pull the front axle hub in the direction of the required adjustment.
f. Tighten the nuts.
Torque: 210 Nm (2,141 kgf-cm, 155 ft. lbs.)
g. Install the front wheel.
Torque: 103 Nm (1,050 kgf-cm, 76 ft. lbs.)
h. Check the camber. If the measured value is not within the specified range, calculate the required adjustment amount using the formula below. (Camber adjustment amount) = Center of the specified range - Measured value
i. Check installed bolts combination. Select appropriate bolts from the table to adjust the camber within the specified range.
Table (1) (Move the axle toward positive side)
Selected Bolt Combination
The body and suspension may be damaged if the camber is not correctly adjusted according to the above table.
NOTICE: Replace the nut with a new one when replacing the bolt.
j. Repeat the steps mentioned above. At step (b), replace 1 or 2 selected bolts.
HINT: Replace one bolt at a time when replacing 2 bolts.
Table (2) (Move the axle toward negative side)
Selected Bolt Combination
The body and suspension may be damaged if the camber is not correctly adjusted according to the above table.
NOTICE: Replace the nut with a new one when replacing the bolt.
k. Repeat the steps mentioned above. At step (b), replace 1 or 2 selected bolts.
HINT: Replace one bolt at a time when replacing 2 bolts.