Curiosii for ever!: Car repair manuals for everyone.

System Description

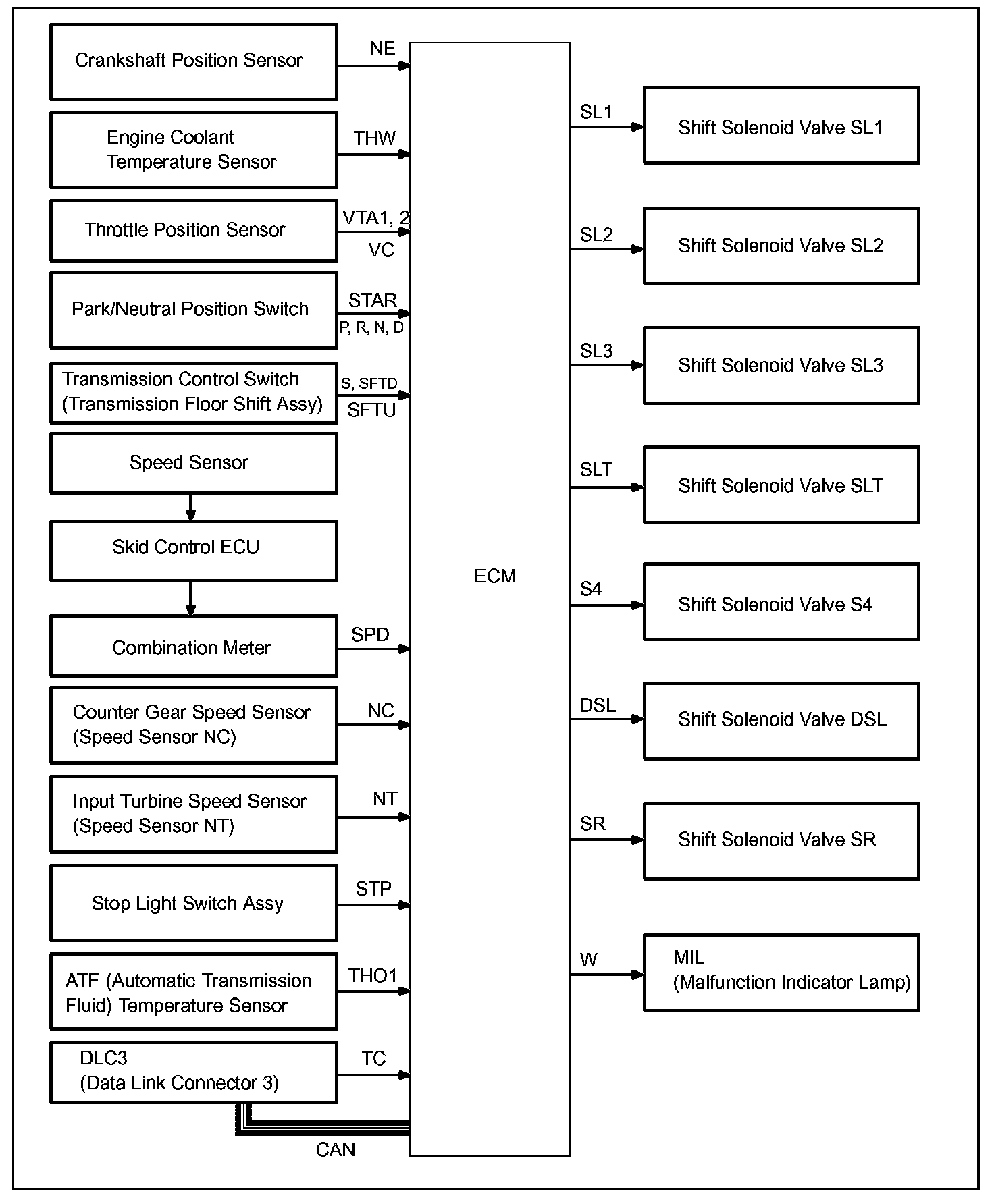
SYSTEM DIAGRAM




The configuration of the electronic control system in the U151E automatic transaxles is as shown in the chart.

SYSTEM DESCRIPTION

1. SYSTEM DESCRIPTION
a. The ECT (Electronic controlled automatic transaxle) is an automatic transaxle that electronically controls shift timing using the ECM. The ECM detects electrical signals that indicate engine and driving conditions, and controls the shift point, based on driver habits and road conditions. As a result, fuel efficiency and power transaxle performance are improved.
Shift shock has been reduced by controlling the engine and transaxle simultaneously.
In addition, the ECT has features such as follows.
- Diagnostic function.
- Fail-safe function when a malfunction occurs.