Curiosii for ever!: Car repair manuals for everyone.

Oxygen Sensor: Testing and Inspection

INSPECTION







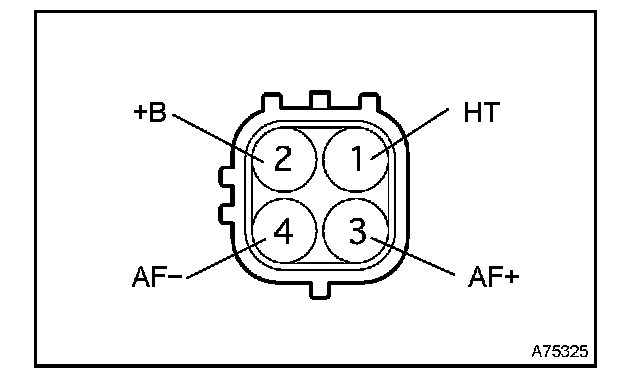
1. INSPECT AIR FUEL RATIO SENSOR
a. Measure the resistance between terminals 1 (HT) and 2 (+B).







2. INSPECT OXYGEN SENSOR
a. Measure the resistance between terminals 1 (HT) and 2 (+B).

If the result is not as specified, replace the sensor.