Curiosii for ever!: Car repair manuals for everyone.

Main Relay (Computer/Fuel System): Testing and Inspection

INSPECTION

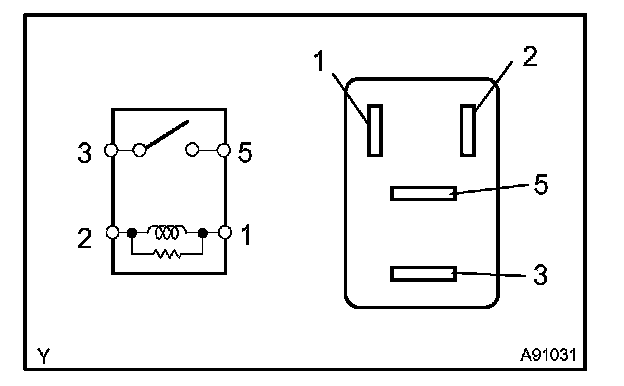
INSPECT RELAY (Marking: EFI, C/OPN)
a. Remove the EFI and C/OPN relays from the engine room J/B.







b. Using an ohmmeter, measure the resistance of the relay.

If the result is not as specified, replace the relay.