Curiosii for ever!: Car repair manuals for everyone.

Power Window Control System (Convertible)

INSPECTION

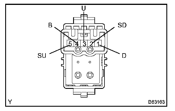
INSPECT POWER WINDOW REGULATOR MASTER SWITCH ASSEMBLY




a. Remove the master switch.










b. Measure the resistance of the switch when the switch is operated.







c. Check the master switch AUTO lamp.

INSPECT POWER WINDOW REGULATOR SWITCH ASSEMBLY




a. Remove the power window switch.




b. Measure the resistance of the switch when the switch operated.If the result is not as specified, replace the regulator switch assembly.

INSPECT ALL WINDOW SWITCH




a. Remove the all window switch.




b. Measure the resistance of the switch when the switch is operated.