Basic Repair Hints
BASIC REPAIR HINTa. HINTS ON OPERATIONS
b. JACKING UP AND SUPPORTING VEHICLE
1. Care must be taken when jacking up and supporting the vehicle. Be sure to lift and support the vehicle at the proper locations.
c. PRECOATED PARTS
1. Precoated parts are bolts and nuts. They are coated with a seal lock adhesive at the factory.
2. If a precoated part is retightened, loosened or moved in anyway, it must be recoated with the specified adhesive.
3. When reusing precoated parts, clean off the old adhesive and dry the part with compressed air.Then apply new seal lock adhesive appropriate to the bolts and nut.
NOTE: Perform the torque with the lower limit value of the torque tolerance.
4. Some seal lock agents harden slowly. You may have to wait for the seal lock agent to harden.
d. GASKETS
1. When necessary, use a sealer on gaskets to prevent leaks.
e. BOLTS, NUTS AND SCREWS
1. Carefully follow all the specifications for tightening torques. Always use a torque wrench.
f. FUSES
1. When replacing fuses, be sure that the new fuse has the correct amperage rating. DO NOT exceed the rating or use one with a lower rating.
Part 1:
Part 2:
g. CLIPS
1. The removal and installation methods of typical clips used in body parts are shown in the table.
HINT: If clips are damaged during a procedure, always replace the damaged clip with a new clip.
h. REMOVAL AND INSTALLATION OF VACUUM HOSES
1. To disconnect vacuum hoses, pull and twist from the end of the hose. Do not pull from the middle of the hose as this may cause damage.
2. When disconnecting vacuum hoses, use tags to identify where they should be reconnected.
3. After completing the job, double check that the vacuum hoses are properly connected. The label under the hood shows the proper layout.
4. When using a vacuum gauge, never force the hose onto a connector that is too large. Use a step-down adapter for adjustment. Once the hose has been stretched, it may leak air.
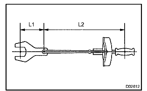
i. TORQUE WHEN USING TORQUE WRENCH WITH EXTENSION TOOL
1. If SST or an extension tool is combined with the torque wrench to extend its length, do not tighten the torque wrench to the specified torque values. The resulting torque will be excessive.
2. Use the formula below to calculate special torque values for situations where SST or an extension tool is combined with the torque wrench.
3. Formula: T' = T x L2/(L1 + L2)