Curiosii for ever!: Car repair manuals for everyone.

System Specifications

Cylinder Block





Inspect for flatness. Using a precision straight edge and a feeler gauge, measure the surface contacting the cylinder head gasket for warpage.
Maximum warpage 0.05 mm (0.0020 inch)

Cylinder Bore





Inspect the cylinder bore diameter.
Using a cylinder gauge, measure the cylinder bore diameter at positions A and B in the thrust and axial directions.
Calculate the average of thrust diameter and axial diameter at the A position in the illustration.
Calculate the average at thrust diameter and axial diameter at the B position in the illustration.
Standard diameter 79.00 - 79.13 mm (3.1102 - 3.1153 inch)

Piston oil clearance





Using a micrometer, measure the piston diameter at right angles to the piston pin center line, 28.0 mm (1.102 inch) from the piston head.
Piston diameter 78.925 - 78.935 mm (3.1073 - 3.1077 inch)
Subtract the piston diameter measurement from the cylinder bore diameter measurement.
Standard oil clearance 0.065 - 0.088 mm (0.0026 - 0.0035 inch)
Maximum oil clearance 0.10 mm (0.0039 inch)

Piston Pin Oil Clearance





Using a caliper gauge, measure the inside diameter of the connecting rod bushing.
Bushing inside diameter 20.012 - 20.021 mm (0.7879 - 0.7882 inch)





Piston pin diameter 20.004 - 20.013 mm (0.7876 - 0.7879 inch)
Subtract the piston pin diameter measurement from the bushing inside diameter measurement.
Standard oil clearance 0.005 - 0.011 mm (0.0002 - 0.0004 inch)
Maximum oil clearance 0.05 mm (0.0020 inch)

Piston Ring clearance








Inspect the piston ring groove clearance.
Using a feeler gauge, measure the clearance between a new piston ring and the wall of the ring groove.





Inspect the piston ring end gap.
Using the piston, push the piston ring a little beyond the bottom of the ring travel, 110 mm (4.33 inch) from the top of the cylinder block.





Using a feeler gauge, measure the end gap.





Standard end gap





Maximum end gap


Connecting Rod/Bearing

Connecting Rod Bearing cap oil clearance
Standard oil clearance 0.015 - 0.032 mm (0.0006 - 0.0013 inch)
Maximum oil clearance 0.050 mm (0.0020 inch)

Connecting Rod Cap Bolts
Install and alternately tighten the 2 connecting rod cap bolts in several passes.
Torque 20 Nm (204 kgf-cm, 15 ft. lbs.)

Connecting Rod Thrust Clearance
Using a dial indicator, measure the thrust clearance while moving the connecting rod back and forth.
Standard thrust clearance 0.160 - 0.342 mm (0.0063 - 0.0135 inch)
Maximum thrust clearance 0.342 mm (0.0135 inch)
If the thrust clearance is greater than maximum, replace the connecting rod assembly(s). If necessary, replace the crank shaft.
Connecting rod thickness 19.788 - 19.840 mm (0.7791 - 0.7811 inch)

Connecting Rod Oil Clearance
Standard oil clearance 0.028 - 0.060 mm (0.0011 - 0.0024 inch)
Maximum oil clearance 0.08 mm (0.0031 inch)





Standard bearing center wall thickness

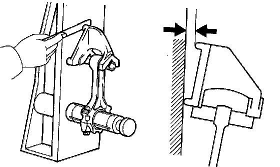
Connecting Rod Sub-Assembly





Using a rod aligner and a feeler gauge, check the connecting rod alignment.
Maximum out-of-alignment 0.05 mm (0.0020 inch) per 100 mm (3.94 inch)
Maximum twist 0.05 mm (0.0020 inch) per 100 mm (3.94 inch)

Connecting Rod Bolt
Standard diameter 6.6 - 6.7 mm (0.260 - 0.264 inch)
Minimum diameter 6.4 mm (0.252 inch)

Connecting Rod Cap Bolts
Install and alternately tighten the 2 connecting rod cap bolts in several passes.
Torque 20 Nm (204 kgf-cm, 15 ft. lbs.)





Mark the front of the connecting cap bolts with paint.
Retighten the cap bolts by 90° as shown.
Check that the painted mark is now at a 90° angle to the front.

Crankshaft Main Bearing Cap Sub-assembly Bolts





INSPECT 12 POINTED HEAD BEARING CAP SUB-ASSEMBLY BOLTS
Using vernier calipers, measure the tension portion diameter of the bolt.
Standard diameter 7.3 - 7.5 mm (0.287 - 0.295 inch)
Minimum diameter 7.3 mm (0.287 inch)
If the diameter is less than minimum, replace the bolt.





INSTALL 12 POINTED HEAD BEARING CAP SUB- ASSEMBLY BOLTS
Install and uniformly tighten the 10 bearing cap subassembly bolts in several passes, in the sequence shown.
Torque 22 Nm (225 kgf-cm, 16 ft. lbs.)
Tighten the bearing cap subassembly bolts in several passes, in the sequence shown.
Torque 44 Nm (449 kgf-cm, 32 ft. lbs.)





Mark the front of the bearing cap subassembly bolts with paint.
Retighten the bearing cap subassembly bolts by 45° and additional 45° in the numerical order shown.
Check that the painted mark is now at a 90° angle to the front.



Crankshaft Thrust Clearance
Using a dial indicator, measure the thrust clearance while prying the crankshaft back and forth with a screwdriver.
Standard thrust clearance 0.04 - 0.24 mm (0.0016 - 0.0094 inch)
Maximum thrust clearance 0.30 mm (0.0118 inch)
If the thrust clearance is greater than maximum, replace the thrust washers as a set.
Thrust washer thickness 2.430 - 2.480 mm (0.0957 - 0.0976 inch)

Crankshaft





Using a dial indicator, measure the circle runout, as shown in the illustration.
Maximum circle runout 0.03 mm (0.0012 inch)





Using a micrometer, measure the diameter of each main journal and crank pin.
Main journal diameter 47.988 - 48.000 mm (1.8893 - 1.8898 inch)
Crank pin diameter 43.992 - 44.000 mm (1.7320 - 1.7323 inch)
Check each main journal and crank pin for taper and out-of-round as shown.
Maximum taper and out-of-round 0.02 mm (0.0008 inch)
If the taper and out-of-round is greater than maximum, replace he crankshaft.

Crankshaft Main Bearing Clearance





Measure the Plastigage at its widest point.
Standard oil clearance 0.015 - 0.032 mm (0.0006 - 0.0013 inch)
Maximum oil clearance 0.050 mm (0.0020 inch)

Crankshaft Pulley Bolt
Using SST, install the pulley bolt.
Torque 138 Nm (1,409 kgf-cm, 102 ft. lbs.)