Curiosii for ever!: Car repair manuals for everyone.

Engine Control System - SFI System

REGISTRATION

NOTE: The Vehicle Identification Number (VIN) must be input into the replacement ECM.

HINT: The VIN is in the form of a 17-digit alphanumeric vehicle identification number. A hand-held tester is required to register the VIN.

a. Description
This registration section consists of three parts, Input Instructions, Read VIN and Write VIN.

1. Input Instructions: Explains the general VIN input instructions using a hand-held tester.

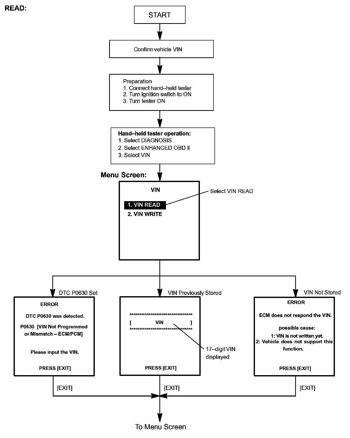
2. Read VIN: Explains the VIN reading process with the flowchart. This process allows the VIN stored in the ECM to be read, in order to confirm that the two VINs, provided to the vehicle and stored in the vehicle's ECM, are the same.

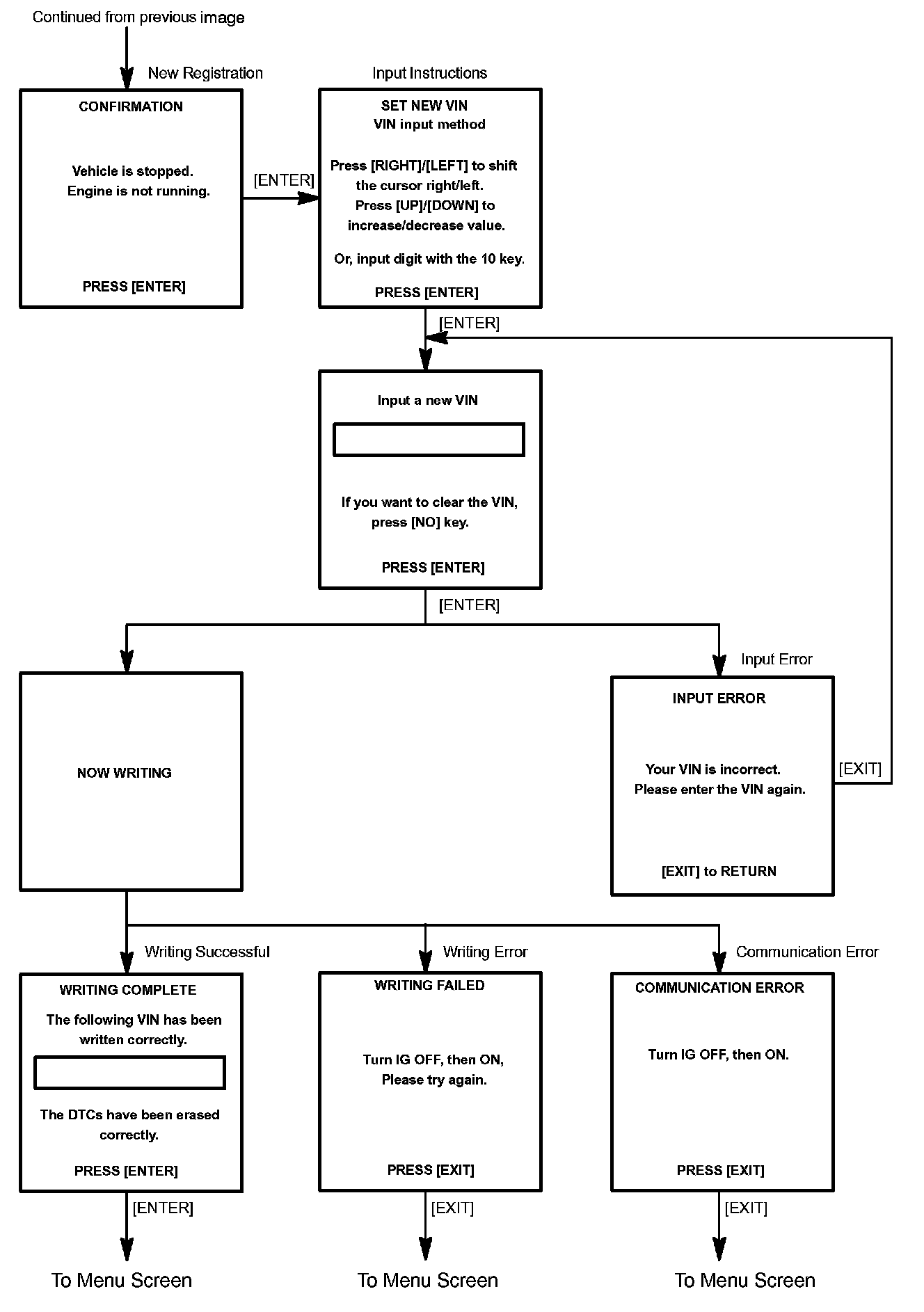
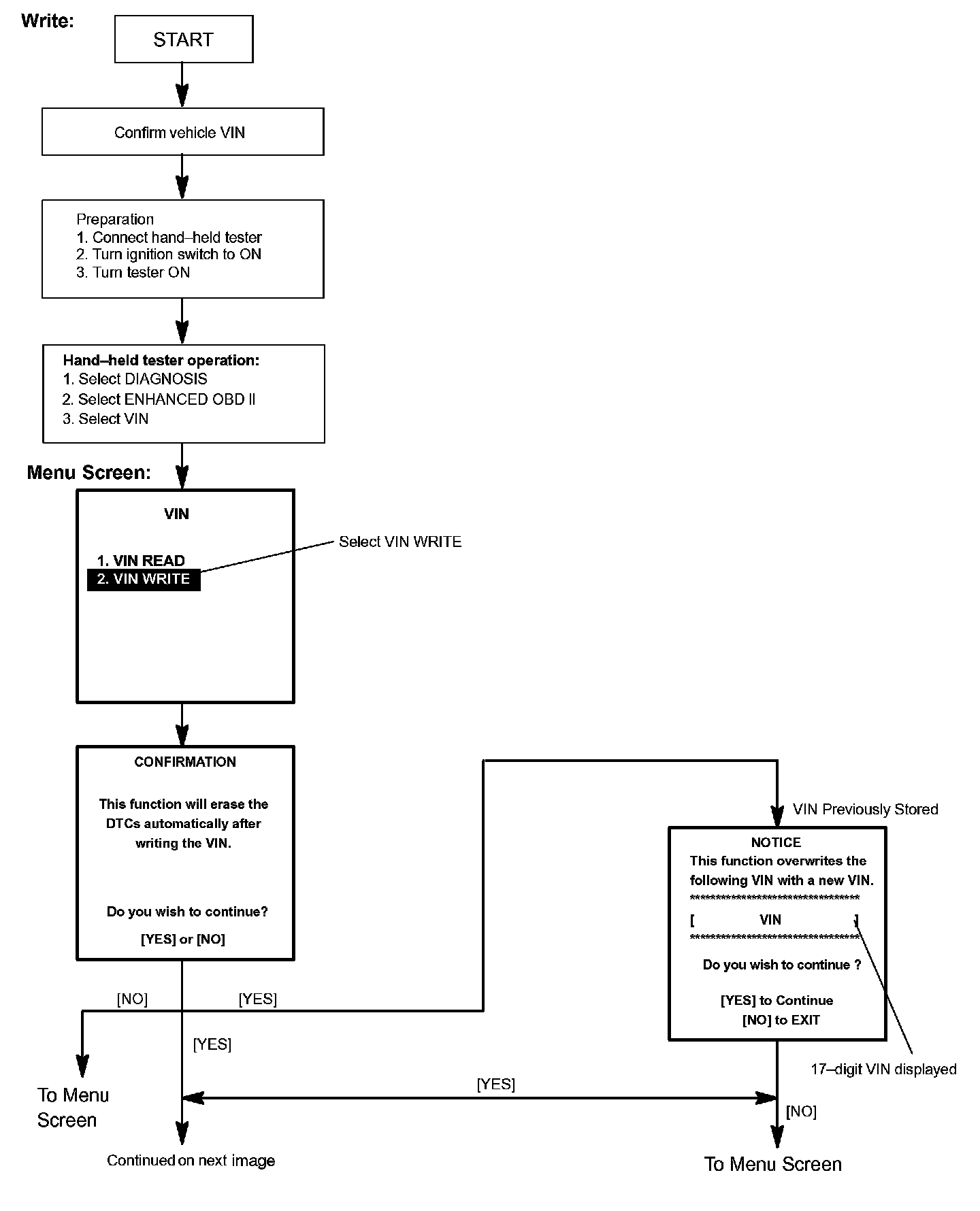
3. Write VIN: Explains the VIN writing process with the flowchart. This process allows the VIN to be input into the ECM. If the ECM is changed, or the VIN and VIN do not match, the VIN can be registered, or overwritten in the ECM by following this procedure.

b. Input instructions

1. Hand-held tester
- The allow buttons (UP, DOWN, RIGHT and LEFT) and numerical buttons (0 to 9) are used, in order to input the VIN.

2. Cursor Operation
- To move the cursor on the tester screen, press the RIGHT or LEFT buttons.

3. Alphabetical Character Input
- Press the UP or DOWN buttons to select the desired alphabetical character.
- After selection, shift the cursor.

4. Numeric Character Input
- Press the numerical button corresponding to the number that you want to input.
- After input, shift the cursor.

HINT: The numerical characters can be selected by using the UP or DOWN buttons.

5. Correction
- When correcting the input character(s), put the cursor onto the character using the RIGHT or LEFT buttons.
- Select or input a correct character using the UP/DOWN buttons, or the numerical buttons.

6. Finishing Input Operation
- Make sure that the input VIN matches with the vehicle VIN after input.
- Press the ENTER button on the tester.

c. Read VIN.





Read VIN using the hand-held tester.

d. Write VIN.







Write VIN using the hand-held tester.