Curiosii for ever!
: Car repair manuals for everyone.
Home
>>
Toyota
>>
2005
>>
Celica L4-1.8L (1ZZ-FE)
>>
Repair and Diagnosis
>>
Diagrams
>>
Exploded Views
>>
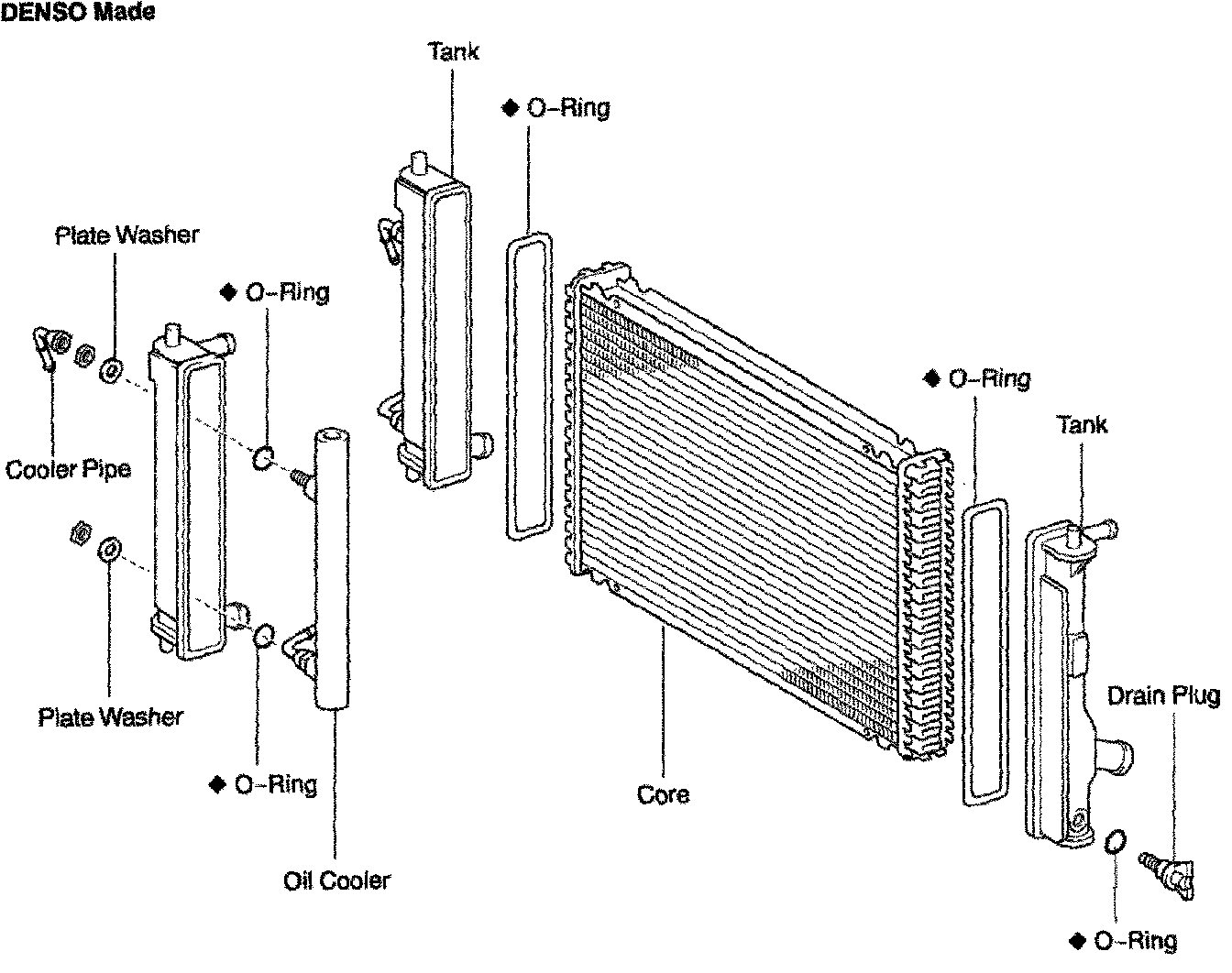
Radiator
Radiator
Part 1 Of 3:
Part 2 Of 3:
Part 3 Of 3:
RADIATOR REPLACEMENT AND OVERHAUL W/ RELATED COMPONENTS