Curiosii for ever!
: Car repair manuals for everyone.
Home
>>
Toyota
>>
2005
>>
Camry L4-2.4L (2AZ-FE)
>>
Repair and Diagnosis
>>
Powertrain Management
>>
Relays and Modules - Powertrain Management
>>
Relays and Modules - Computers and Control Systems
>>
Main Relay (Computer/Fuel System)
>>
Testing and Inspection
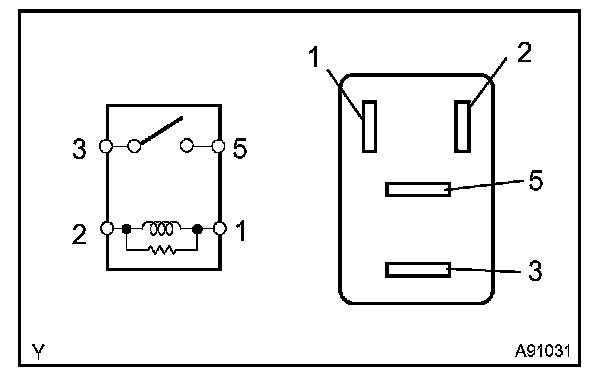
Main Relay (Computer/Fuel System): Testing and Inspection
INSPECTION (From July 2003)
INSPECT RELAY (Marking: EFI, C/OPN)
Standard:
Using an ohmmeter, measure the resistance of the relay.
If the result is not as specified, replace the relay.