Curiosii for ever!: Car repair manuals for everyone.

Check Short Circuit

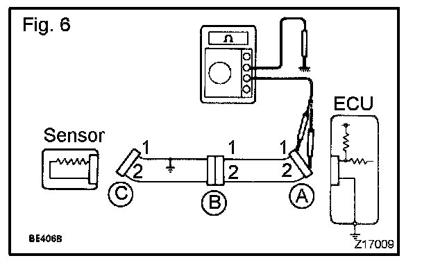
CHECK SHORT CIRCUIT




a. If the wire harness is ground shorted (Fig. 5), locate the section by conducting a resistance check with the body ground (below).

b. Check the resistance with the body ground.







1. Disconnect connectors A and C and measure the resistance.

HINT: Measure the resistance while lightly shaking the wire harness vertically and horizontally.

If your results match the examples above, a short circuit exists between terminal 1 of connector A and terminal 1 of connector C.







2. Disconnect connector B and measure the resistance.

If your results match the examples above, a short circuit exists between terminal 1 of connector B2 and terminal 1 of connector C.