Curiosii for ever!: Car repair manuals for everyone.

Remote Up/Down Function Does Not Operate

REMOTE UP/DOWN FUNCTION DOES NOT OPERATE

CIRCUIT DESCRIPTION

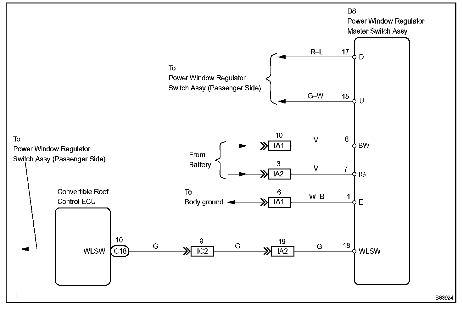
With the ignition switch ON, the power window regulator master switch transmits remote switch signals to the passenger side power window regulator switch. Then, the regulator switch drives the power window regulator motor.

Wiring Diagram:






Step 1 - 2:




Step 3:




Step 4:




INSPECTION PROCEDURE