Curiosii for ever!
: Car repair manuals for everyone.
Home
>>
Toyota
>>
2004
>>
Matrix 4WD L4-1.8L (1ZZ-FE)
>>
Repair and Diagnosis
>>
Heating and Air Conditioning
>>
Compressor Clutch Relay
>>
Testing and Inspection
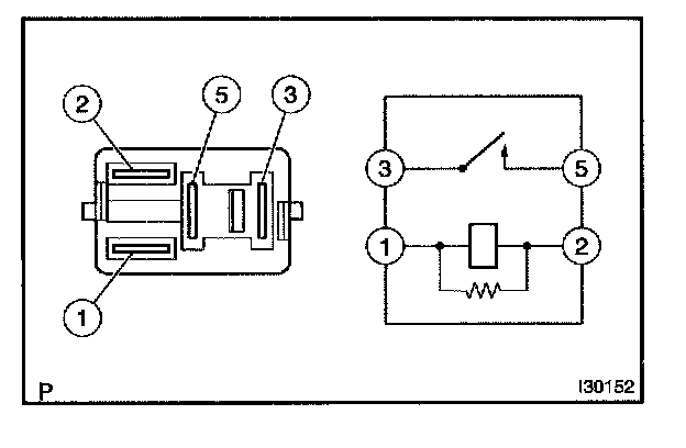
Compressor Clutch Relay: Testing and Inspection
MAGNET-CLUTCH RELAY
If continuity is not as specified, replace the magnet-clutch relay.