Curiosii for ever!: Car repair manuals for everyone.

Input Shaft





OVERHAUL





1. INSPECT 4TH GEAR THRUST CLEARANCE
a. Using a feeler gauge, measure the 4th gear thrust clearance.
Standard clearance: 0.10 - 0.55 mm (0.0039 - 0.0217 inch)





2. INSPECT 3RD GEAR THRUST CLEARANCE
a. Using a dial indicator, measure the 3rd gear thrust clearance.
Standard clearance: 0.10 - 0.35 mm (0.0039 - 0.0138 inch)





3. INSPECT 4TH GEAR RADIAL CLEARANCE
a. Using a dial indicator, measure the 4th gear radial clearance.





Standard clearance

If the clearance is out of specification, replace the 4th gear needle roller bearing.





4. INSPECT 3RD GEAR RADIAL CLEARANCE
a. Using a dial indicator, measure the 3rd gear radial clearance.





Standard clearance

If the clearance is out of specification, replace the 3rd gear needle roller bearing.
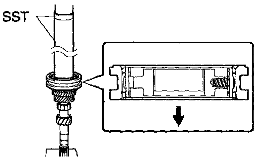
5. REMOVE 4TH GEAR





a. Using 2 screwdrivers and a hammer, remove the input shaft bearing shaft snap ring.

NOTICE: Using a waste to prevent the snap ring from the being scattered.





b. Using SST and a press, remove the input shaft bearing with 4th gear from the input shaft.
SST 09950-00020

NOTICE: Do not tighten SST excessively.





6. REMOVE 4TH GEAR NEEDLE ROLLER BEARING
a. Remove the 4th gear needle roller bearing and 4th gear bearing spacer from the input shaft.





7. REMOVE 4TH GEAR SYNCHRONIZER RING
a. Remove the 4th gear synchronizer ring from the transmission clutch hub No. 2.
8. REMOVE 3RD GEAR





a. Using 2 screwdrivers and a hammer, remove the clutch hub No. 2 shaft snap ring from the input shaft.

NOTICE: Using a waste to prevent the snap ring from the being scattered.





b. Using SST and a press, remove the transmission clutch hub No. 2 with 3rd gear from the input shaft.
SST 09950-00020

NOTICE: Do not tighten SST excessively.





9. REMOVE 3RD GEAR SYNCHRONIZER RING
a. Remove the 3rd gear synchronizer ring from the 3rd gear.





10. REMOVE 3RD GEAR NEEDLE ROLLER BEARING
a. Remove the 3rd gear needle roller bearing from the input shaft.





11. REMOVE TRANSMISSION HUB SLEEVE No. 2
a. Remove the transmission hub sleeve No. 2, 3 synchromesh shifting keys and 3 transmission shifting key springs from the transmission clutch hub No. 2.

NOTICE: Using a waste to prevent the synchromesh shifting key and spring from the being scattered.

12. INSPECT INPUT SHAFT





a. Using a dial indicator and 2 V-blocks, measure the shaft runout.
Maximum runout: 0.015 mm (0.006 inch)
If the run out is exceeds the maximum, replace the input shaft.





b. Using a micrometer, measure the outer diameter of the input shaft journal surface.





Outer diameter

If the outer diameter is less than the minimum, replace the input shaft.





13. INSPECT 4TH GEAR
a. Using a cylinder gauge, measure the inside diameter of the 4th gear.





Inside diameter

If the inside diameter is exceeds the maximum, replace the 4th gear.





14. INSPECT 3RD GEAR
a. Using a cylinder gauge, measure the inside diameter of the 3rd gear.





Inside diameter

If the inside diameter is exceeds the maximum, replace the 4th gear.
15. INSPECT 4TH GEAR SYNCHRONIZER RING





a. Coat the 4th gear cone with gear oil. Check the braking effect of the 4th gear synchronizer ring.





b. Using a feeler gauge, measure the clearance between the 4th gear synchronizer ring back and 4th gear spline end.
Standard clearance: 0.75 - 1.65 mm (0.0295 - 0.0650 inch)
If the clearance is out of specification, replace the 4th gear synchronizer ring.
16. INSPECT 3RD GEAR SYNCHRONIZER RING





a. Coat the 3rd gear cone with gear oil. Check the braking effect of the 3rd gear synchronizer ring.





b. Using a feeler gauge, measure the clearance between the 3rd gear synchronizer ring back and 3rd gear spline end.
Standard clearance: 0.65 - 1.75 mm (0.0256 - 0.0689 inch)
If the clearance is out of specification, replace the 3rd gear synchronizer ring.
17. INSPECT TRANSMISSION HUB SLEEVE No. 2





a. Check the sliding condition between the transmission hub No. 2 and transmission hub sleeve No. 2.
b. Check that the spline gear's edges of the transmission hub sleeve No. 2 is not worn down.





c. Using a vernier calipers, inspect the transmission hub sleeve No. 2 and gear shift fork No. 2 as shown in the illustration.
Standard clearance: 0.15 - 0.35 mm (0.0059 - 0.0138 inch)
If the clearance is out of specification, replace the transmission hub sleeve No. 2 and gear shift fork No. 2.





18. INSTALL TRANSMISSION HUB SLEEVE No. 2
a. Coat the transmission hub sleeve No. 2 with gear oil, install it to the transmission clutch hub No. 2.

NOTICE: Do not set the transmission hub sleeve No. 2 and the transmission clutch hub No. 2 in incorrect orientation.

b. Using a screwdriver, install the 3 synchromesh shifting key springs with 3 synchromesh shifting keys.





19. INSTALL 3RD GEAR NEEDLE ROLLER BEARING
a. Coat the 3rd gear needle roller bearing with gear oil, install it to the input shaft.





20. INSTALL 3RD GEAR
a. Coat the 3rd gear with gear oil, install it to the input shaft.





21. INSTALL 3RD GEAR SYNCHRONIZER RING
a. Coat the 3rd gear synchronizer ring with gear oil, install it to the 3rd gear.
22. INSTALL TRANSMISSION CLUTCH HUB No. 2





a. Using SST and a press, install the transmission clutch hub No. 2 to the input shaft.
SST 09309-36100 (09309-03610), 09950-60010 (09951-00450)





b. Select a snap ring that will allow minimum axial play.
Standard clearance: 0.1 mm (0.004 inch) or less





Snap ring thickness

c. Using a brass bar and a hammer, install the snap ring to the input shaft.





23. INSTALL 4TH GEAR SYNCHRONIZER RING
a. Coat the 4th gear synchronizer ring with gear oil, install it to the transmission clutch hub No. 2.





24. INSTALL 4TH GEAR NEEDLE ROLLER BEARING
a. Coat the 4th gear bearing spacer and 4th gear needle roller bearing with gear oil, install them to the input shaft.





25. INSTALL 4TH GEAR
a. Coat the 4th gear with gear oil, install it to the input shaft.
26. INSTALL INPUT SHAFT BEARING





a. Using SST and a press, install the input shaft bearing to the input shaft.
SST 09608-04031





b. Select a snap ring that will allow minimum axial play.
Standard clearance: 0.1 mm (0.004 inch) or less





Snap ring thickness

c. Using a brass bar and a hammer, install the snap ring to the input shaft





27. INSPECT 3RD GEAR RADIAL CLEARANCE
a. Using a dial indicator, measure the 3rd gear radial clearance.





Standard clearance

If the clearance is out of specification, replace the 3rd gear needle roller bearing.





28. INSPECT 4TH GEAR RADIAL CLEARANCE
a. Using a dial indicator, measure the 4th gear radial clearance.





Standard clearance

If the clearance is out of specification, replace the 4th gear needle roller bearing.





29. INSPECT 3RD GEAR THRUST CLEARANCE
a. Using a dial indicator, measure the 3rd gear thrust clearance.
Standard clearance: 0.10 - 0.35 mm (0.0039 - 0.0138 inch)





30. INSPECT 4TH GEAR THRUST CLEARANCE
a. Using a feeler gauge, measure the 4th gear thrust clearance.
Standard clearance: 0.10 - 0.55 mm (0.0039 - 0.0217 inch)