Curiosii for ever!: Car repair manuals for everyone.

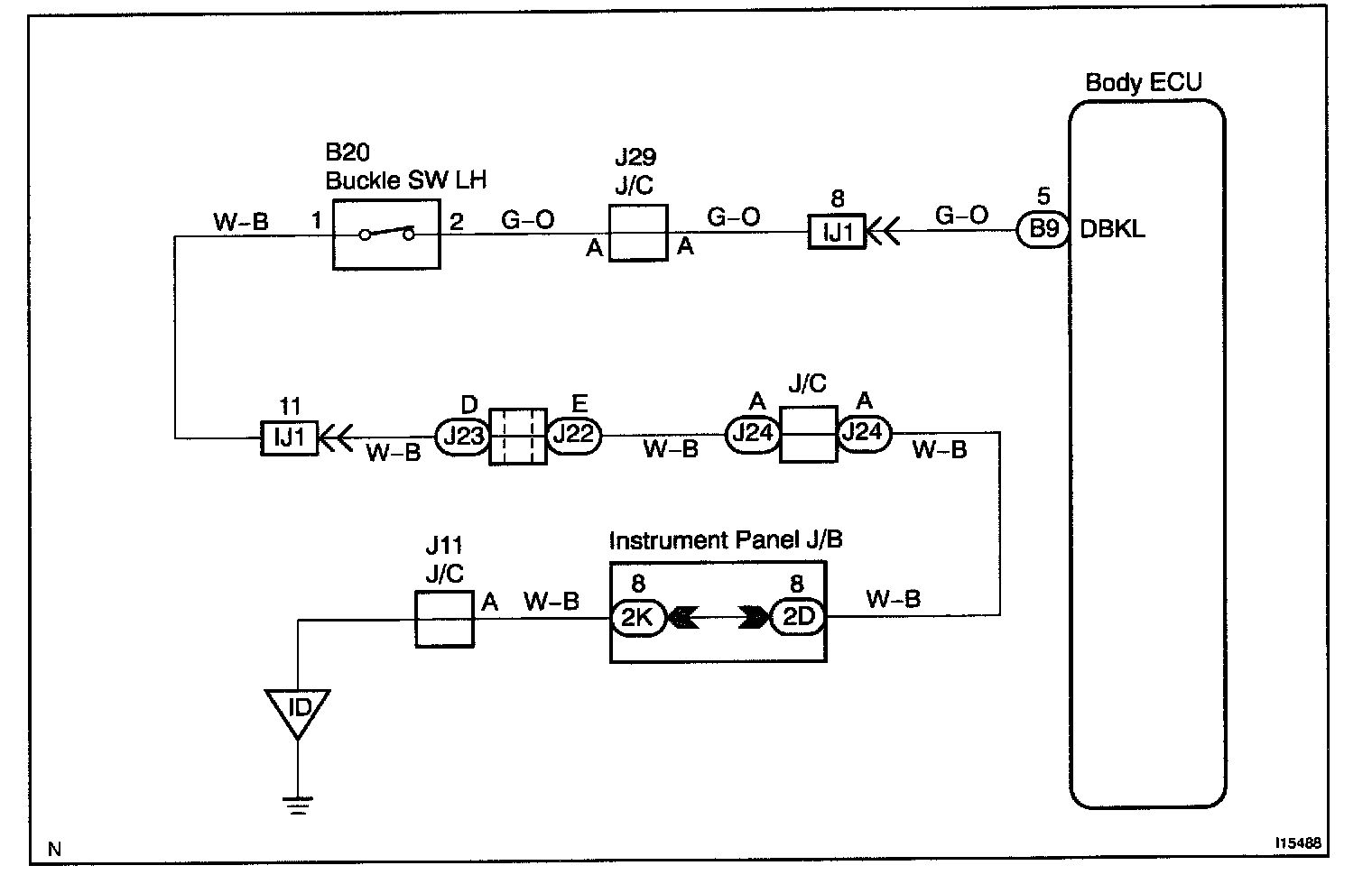
Driver Buckle Switch Circuit

CIRCUIT DESCRIPTION
When the buckle switch of the driver's seat is ON with the ignition switch ON, the body ECU sends a signal to make the seat belt warning light for the driver's seat light up and to sound a buzzer.
When the buckle switch of the passenger seat is ON and the passenger seat belt occupant detecting sensor is ON with the ignition switch ON, the body ECU sends a signal to make the seat belt warning light for the passenger seat light up.

Wiring Diagram:






Step 1 - 2:




INSPECTION PROCEDURE