Curiosii for ever!
: Car repair manuals for everyone.
Home
>>
Toyota
>>
2003
>>
Matrix 2WD L4-1.8L (1ZZ-FE)
>>
Repair and Diagnosis
>>
Relays and Modules
>>
Relays and Modules - Windows and Glass
>>
Power Window Relay
>>
Testing and Inspection
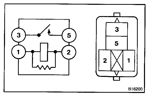
Power Window Relay: Testing and Inspection
INSPECT RELAY (Making: P/W)
a.
Remove the
power window relay
from the instrument panel J/B.
b.
Inspect the
power window relay
.
If the result is not as specified, replace the relay.