Curiosii for ever!
: Car repair manuals for everyone.
Home
>>
Toyota
>>
2003
>>
MR2 Spyder L4-1.8L (1ZZ-FE)
>>
Repair and Diagnosis
>>
Body and Frame
>>
Body Control Systems
>>
Testing and Inspection
>>
Component Tests and General Diagnostics
>>
Ignition Switch Power Source Circuit
Ignition Switch Power Source Circuit
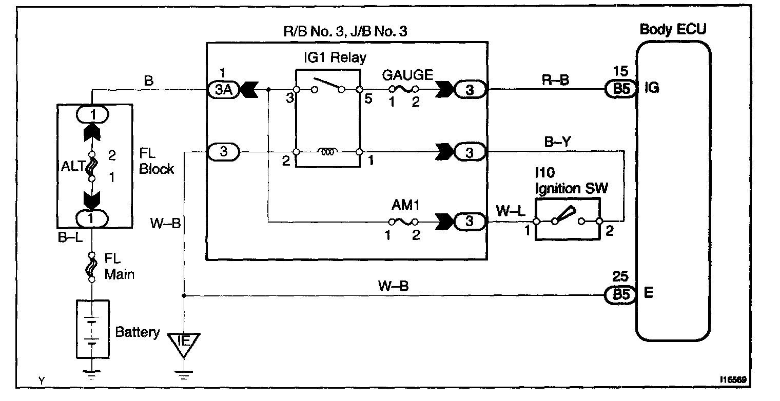
CIRCUIT DESCRIPTION
When the ignition switch is turned to the ON position, battery positive voltage is applied to terminal IG of the body ECU.
Wiring Diagram:
Step 1:
Step 2 - 4:
Step 5:
INSPECTION PROCEDURE