Vehicle Speed Sensor: Testing and Inspection
INSPECT VEHICLE SPEED SENSOR OPERATION
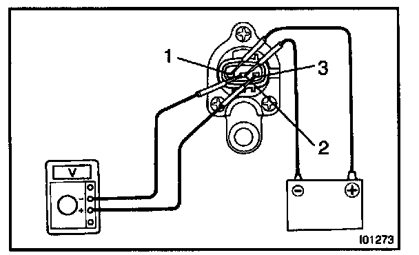
a. Connect the positive (+) lead from battery to terminal 1 and negative (-) lead to terminal 2.
b. Connect the positive (+) lead from tester to terminal 3 and the negative (-) lead to terminal 2.
c. Rotate the shaft.
d. Check that there is voltage change from approx. 0 V to 11 V or more between terminals 2 and 3.
HINT: The voltage change should be 4 times for every revolution of the speed sensor shaft.
If operation is not as specified, replace the sensor.