Curiosii for ever!: Car repair manuals for everyone.

Component Inspection

INSPECTION




1. INSPECT ILLUMINATION OPERATION
Connect the positive (+) lead from the battery to terminal 1 and negative (-) lead to terminal 9 then check that the illuminations lights up.
If operation is not as specified, check the faulty bulb.




2. INSPECT BULB
Apply the tester as shown in the illustration to the test for continuity.
If continuity exists, replace the heater control.
If no continuity exists, replace the bulb.




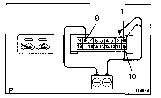
3. INSPECT A/C INDICATOR OPERATION
a. Connect the positive (+) lead from the battery to terminal 10 and the negative (-) lead to terminal 11.
b. Push the A/C button in and then check that the indicator lights up.
If operation is not as specified, replace the switch.




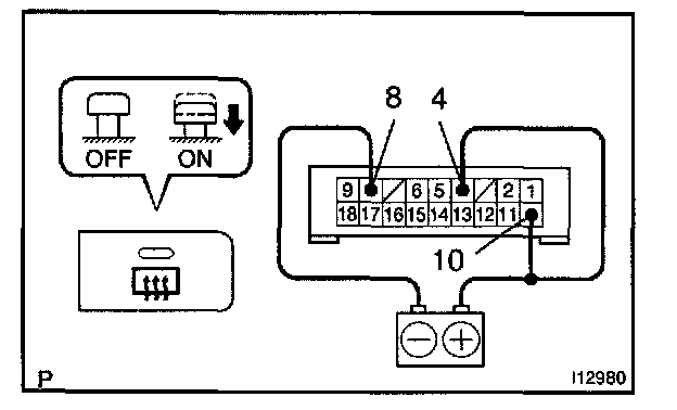
4. INSPECT DIMMING OPERATION
a. Connect the positive (+) lead from the battery to terminal 10 and the negative (-) lead to terminal 11 while press the switch.
b. Connect the positive (+) lead from the battery to terminal 1 and then check that the indicator dims.
If operation is not as specified, replace the switch.







5. INSPECT A/C SWITCH CONTINUITY
If operation is not as specified, replace the switch circuit board.




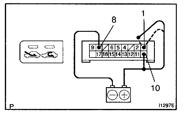
6. INSPECT RECIRC INDICATOR OPERATION
a. Connect the positive (+) lead from the battery to terminal 10 and the negative (-) lead to terminal 8.
b. Push the REC button in and then check that the indicator lights up.
If operation is not as specified, replace the switch circuit board.




7. INSPECT DIMMING OPERATION
a. Connect the positive (+) lead from the battery to terminal 10 and the negative (-) lead to terminal 8 while press the switch.
b. Connect the positive (+) lead from the battery to terminal 4 and then check that the indicator dims.
If operation is not as specified, replace the switch circuit board.







8. INSPECT RECIRC SWITCH CONTINUITY
If operation is not as specified, replace the switch circuit board.




9. INSPECT FRESH INDICATOR OPERATION
a. Connect the positive (+) lead from the battery to terminal 10 and the negative (-) lead to terminal 8.
b. Push the FRS button in and then check that the indicator lights up.
If operation is not as specified, replace the switch circuit board.




10. INSPECT DIMMING OPERATION
a. Connect the positive (+) lead from the battery to terminal 10 and the negative (-) lead to terminal 8 while press the switch.
b. Connect the positive (+) lead from the battery to terminal 1 and then check that the indicator dims.
If operation is not as specified, replace the switch circuit board.







11. INSPECT FRESH SWITCH CONTINUITY
If operation is not as specified, replace the switch circuit board.




12. INSPECT REAR DEFOGGER INDICATOR OPERATION
a. Connect the positive (+) lead from the battery to terminal 10, 4 and negative (-) lead to terminal 8.
b. Push the RDEF button in and then check that the indicator lights up.
If operation is not as specified, replace the switch circuit board.




13. INSPECT DIMMING OPERATION
a. Connect the positive (+) lead from the battery to terminal 10, 4 and negative (-) lead to terminal 8 while press the switch.
b. Connect the positive (+) lead from the battery to terminal 1 and then check that the indicator dims.
If operation is not as specified, replace the switch circuit board.







14. INSPECT REAR DEFOGGER SWITCH CONTINUITY
If operation is not as specified, replace the switch circuit board.







15. INSPECT BLOWER SPEED CONTROL SWITCH CONTINUITY
If operation is not as specified, replace the switch.







16. INSPECT MODE CONTROL SWITCH CONTINUITY
If operation is not as specified, replace the switch.