Curiosii for ever!: Car repair manuals for everyone.

Vehicle Speed Sensor: Testing and Inspection




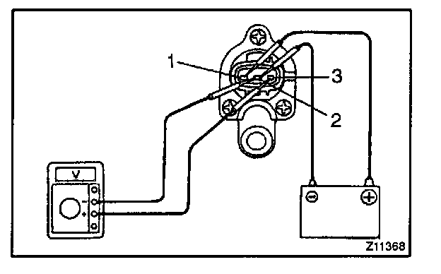
INSPECT VEHICLE SPEED SENSOR OPERATION
a. Connect the positive (+) lead from battery to terminal 1 and negative (-) lead to terminal 2.
b. Connect the positive (+) lead from tester to terminal 3 and negative (-) lead to terminal 2.
c. Rotate shaft.
d. Check that there is voltage change from approx. 0 Volt to 11 Volt or more between terminals 2 and 3.

HINT: The voltage change should be 4 times for every revolution of the speed sensor shaft.

If operation is not as specified, replace the sensor.