Curiosii for ever!: Car repair manuals for everyone.

Part 1















REASSEMBLY

NOTICE:
^ The automatic transaxle is composed of highly precision-finished parts, necessitating careful inspection before reassembly because even a small nick could cause fluid leakage or affect the performance. The instructions here are organized so that you work on only one component group at a time. This will help avoid confusion from similar-looking parts of different sub-assemblies being on your workbench at the same time. The component groups are inspected and repaired from the converter housing side. As much as possible, complete the inspection, repair and reassembly before proceeding to the next component group. If a defect is found in a certain component group during reassembly, inspect and repair this group immediately. If a component group during reassembly, inspect and repair this group immediately. If a component group cannot be assembled because parts are being ordered, be sure to keep all parts of the group in a separate container while proceeding with disassembly, inspection repair and reassembly of other component groups.
Recommended ATF: D-II or DEXRON(R)III (DEXRON(R)II)
^ All disassembled parts should be washed clean and any fluid passages and holes should be blown through with compressed air.
^ Dry all parts with compressed air-never use shop rags.
^ When using compressed air, always aim away from yourself to prevent accidentally spraying ATF or kerosene on your face.
^ The recommended automatic transaxle fluid or kerosene should be used for cleaning.
^ After cleaning, the parts should be arranged in the correct order for efficient inspection, repairs, and reassembly.
^ When disassembling a valve body, be sure to match each valve together with the corresponding spring.
^ New discs for the brakes and clutches that are to be used for replacement must be soaked in ATF for at least 15 minutes before reassembly.
^ All oil seal rings, clutch discs, clutch plates, rotating parts, and sliding surfaces should be coated with ATF prior to reassembly.
^ All gaskets and rubber O-rings should be replaced.
^ Do not apply adhesive cements to gaskets and similar parts.
^ Make sure that the ends of a snap ring are not aligned with one of the cutouts and are installed in the groove correctly.
^ If a worn bushing is to be replaced, the sub-assembly containing the bushing must also be replaced.
^ Check thrust bearings and races for wear or damage. Replace if necessary.
^ Use petroleum jelly to keep parts in place.
^ When working with Formed In Place Gasket (FIPG) material, you must observe the following.
Using a razor blade and a gasket scraper, remove all the old packing Formed In Place Gasket (FIPG) material from the gasket surface.
Thoroughly clean all components to remove all the loose material. Clean both sealing surfaces with a non-residue solvent.
Parts must be reassembled within 10 minutes of application. Otherwise, the packing Formed In Place Gasket (FIPG) material must be removed and reapplied.








1. INSTALL DRIVE PINION INTO TRANSAXLE CASE





a. Using SST, install the bearing to the drive pinion shaft.
SST 09350-32014 (09351-32120)





b. Place the bearing cage onto the drive pinion shaft.

NOTICE: Be careful not to damage the oil seals with the pinion shaft.





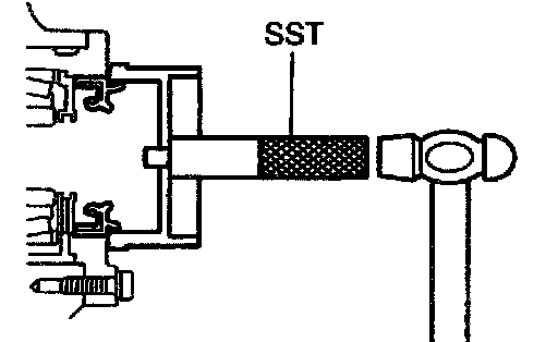
c. Using a brass bar and hammer, slightly tap the bearing cage into the transaxle case until the snap ring groove in the bore can be seen.





d. Using SST, install the snap ring.
SST 09350-32014 (09351-32050)





e. Using SST, install the snap ring.
SST 09350-32014 (09351-32050)





2. PLACE OIL SLINGER AND NEW SPACER

HINT: Install the spacer with the small end downward.





3. INSTALL OUTER RACE TO TRANSAXLE CASE
Using SST, press in the outer race.
SST 09350-32014 (09351-32100, 09351-32140)





4. INSTALL COUNTER DRIVE GEAR
a. Place a brass bar into the transaxle hole to hold the drive pinion shaft.
b. Using SST, press in the counter driven gear until the counter driven gear bearing almost touches the counter gear.
SST 09350-32014 (009351-32140)
5. INSTALL NEW LOCK NUT AND ADJUST DRIVE PINION PRELOAD
a. Install a new lock nut.





b. Using SST to hold the gear, tighten the nut.
Torque: 280 Nm (2,855 kgf-cm, 206 ft. lbs.)
SST 09330-00021, 09350-32014 (09351-32032)
c. Turn the gear counterclockwise and clockwise several times.





d. Using a small torque wrench, measure the preload of the driven pinion.
Drive pinion preload (at starting):
New bearing 1.0 - 1.6 Nm (10 - 16 kgf-cm, 8.7 - 13.9 inch lbs.)
Reused bearing 0.5 - 0.8 Nm (5 - 8 kgf-cm, 4.3 - 6.9 inch lbs.)
- If the preload is greater than specified, replace the bearing spacer.
- If the preload is less than specified, retighten the nut 13 Nm (130 kgf-cm, 9 ft. lbs.) at a time until the specified preload is reached.
- If the maximum torque is exceeded while retightening the nut, replace the bearing spacer and repeat the preload procedure.
Do not back off the nut to reduce the preload.
Torque: 353 Nm (3,600 kgf-cm, 260 ft. lbs.)





e. If the preload is adjusted within specification, make a note of it.
f. Using a chisel and hammer, stroke the lock nut.





6. INSTALL APPLY GASKET





7. PLACE OUTER RACE AND SHIM ONTO RH SIDE BEARING





8. PLACE DIFFERENTIAL CASE INTO TRANSAXLE CASE
Be sure to install the shim and outer race into place.
9. INSTALL CARRIER COVER





a. Remove any FIPG material and be careful not to drop oil on the contacting surfaces of the carrier cover and transaxle case.
b. Any FIPG to the carrier cover.
FIPG:
Part No. 08826-00090, THREE BOND 1281 or equivalent

HINT: Install the carrier cover within 10 minutes after applying seal packing.





c. Install the 10 bolts.
Torque: 39 Nm (400 kgf-cm, 29 ft. lbs.)

HINT: Each bolt length is indicated.

Bolt length:
Bolt A: 100 mm (3.937 inch)
Bolt B: 65 mm (2.559 inch)
Bolt C: 75 mm (2.953 inch)
10. ADJUST SIDE BEARING PRELOAD





a. Remove FIPG material on the contacting surfaces of the LH bearing retainer and transaxle case.

HINT: Do not FIPG packing yet.

b. Install the LH bearing retainer with the 6 bolts.
Torque: 19 Nm (195 kgf-cm, 14 ft. lbs.)
c. Snap down the bearings by turning the differential case several times.





d. Using a small torque wrench, measure the differential total preload.
Total preload (at starting):
New bearing
Drive pinion preload plus 0.2 - 0.5 Nm (2.5 - 5.1 kgf-cm, 2.2 - 3.6 inch lbs.)
Reused bearing
Drive pinion preload plus 0.1 - 0.2 Nm (1.3 - 2.0 kgf-cm, 1.1 - 1.7 inch lbs.)
If the preload is not within specification, replace the adjusting shim in the LH bearing retainer with one of a differential thickness.








Adjusting shim thickness:

11. INSTALL LH BEARING RETAINER





a. Remove the 6 bolts and LH bearing retainer.





b. Remove any FIPG material on the contacting surfaces of LH bearing retainer, transaxle case and carrier cover.
c. Apply FIPG to the transaxle case and carrier cover.
FIPG:
Part No. 08826-00090, THREE BOND 1281 or equivalent

HINT: Install the LH bearing retainer within 10 minutes after applying FIPG.

d. Install the LH bearing retainer.
e. Coat the threads of bolts with sealer.
Sealer:
Part No. 08833-00070, THREE BOND 1324 or equivalent
f. Install the 6 bolts.
Torque: 19 Nm (195 kgf-cm, 14 ft. lbs.)
g. Snap down the bearings.
h. Recheck the differential total preload.
12. INSTALL NEW OIL SEAL





a. Place the oil baffle onto the LH bearing retainer.





b. Using SST, drive in a new oil seal unit its end is flush with surface of the LH bearing retainer.
SST 09223-15020, 09350-32014 (09351-32130)
13. INSTALL RH RETAINER





a. Remove any FIPG material on the contacting surfaces of RH retainer and transaxle case.
b. Apply FIPG to the RH retainer.
FIPG:
Part No. 08826-00090, THREE BOND 1281 or equivalent

HINT: Install the RH retainer within 10 minutes after applying FIPG.





c. Coat the bolt threads with sealer.
Sealer:
Part No. 08833-00070, THREE BOND 1324 or equivalent
d. Install the 5 bolts.
Torque: 19 Nm (195 kgf-cm, 14 ft. lbs.)





e. Using SST, tap in the oil seal.
SST 09226-10010





14. INSTALL TRANSAXLE CAP
a. Install a new O-ring to the cap.
b. Install the transaxle cap with the bolt to the transaxle case.
Torque: 5.4 Nm (55 kgf-cm, 48 inch lbs.)





15. INSTALL PARKING LOCK PAWL
a. Place the parking lock pawl onto the case.
b. Hook the spring ends to the case and pawl.
c. Install the pin into the hole of the case through the spring and pawl.
16. INSTALL MANUAL VALVE SHAFT





a. Coat a new oil seal lip with MP grease.
b. Install the oil seal to the case.





c. Assembly a new collar to the manual valve lever.





d. Install the manual valve shaft to the transmission case through the manual lever.
e. Install the parking lock rod.





f. Using a pin punch and hammer, drive in the pin until its surface is flush with the manual valve lever surface.





g. Match the collar hole to the lever caulking hollow and caulk the collar to the lever.





h. Install the retaining spring.





17. INSTALL PARKING LOCK PAWL BRACKET AND GUIDE
Install the parking lock pawl bracket and guide with the 3 bolts.
Torque: 7.4 Nm (75 kgf-cm, 65 inch lbs.)





18. CHECK OPERATION OF PARKING LOCK PAWL
Make sure the counter driven gear is locked when the manual valve lever is in the P position.
19. INSTALL 1ST & REVERSE BRAKE PISTON TO TRANSMISSION CASE





a. Coat 2 new O-rings with ATF.
b. Install the 2 O-rings on the piston.





c. Push the piston into the bore of the case, facing the spring seal upward.

NOTICE: Be careful not to damage the O-rings.

20. INSTALL PISTON RETURN SPRING
a. Place the return spring and snap ring on the piston.





b. Place SST, and compress the return spring evenly by tightening the bolt gradually.
SST 09350-32014 (09351-32040)

NOTICE:
^ Stop the press when the spring sheet is lowered to the place 1 - 2 mm (0.039 - 0.078 inch) from the snap ring groove, preventing the spring sheet from deforming.
^ Do not expand the snap ring excessively.





c. Using snap ring pliers, install snap ring. Visually check to make sure it is fully seated and centered by the 3 lugs on the spring retainer.
Be sure the end gap of snap ring is not aligned with the spring retainer claw.
d. Remove the SST





21. INSTALL SNAP RING TO TRANSAXLE CASE
Using snap ring pliers, install the snap ring to the transaxle case.
22. INSTALL O/D UNIT





a. Install the O/D brake apply gasket and O/D clutch apply gasket.





b. Install the O/D brake drum to the case.





c. Make sure that the length from the top surface of the case to the counter driven gear surface should be about 24 mm (0.94 inch).





d. Place a new gasket onto the transaxle case.
e. Install the O/D planetary gear with the O/D case to the transaxle case.





f. Coat the threads of 23 mm (0.91 inch) bolts with sealer.
Sealer: Part No. 08833-00070, THREE BOND 1324 or equivalent
g. Install the 12 bolts.
Torque: 25 Nm (250 kgf-cm, 18 ft. lbs.)

HINT: Each bolt length is indicated.

Bolt length:
Bolt A: 61 mm (2.402 inch)
Bolt B: 38 mm (1.496 inch)
Bolt C: 23 mm (0.906 inch)





23. CHECK INTERMEDIATE SHAFT END PLAY
a. Make sure that the intermediate shaft as end play in axial direction.
End play: 0.47 - 1.50 mm (0.0185 - 0.0591 inch)
If the end play is not within specification, check the installation of intermediate shaft.
b. Make sure that the intermediate shaft turns smoothly.
24. INSTALL REAR PLANETARY GEAR





a. Install the rear planetary ring gear.
b. Place the bearing onto the ring gear.





Bearing diameter:





c. Coat the thrust washer with petroleum jelly and place it onto the rear planetary gear.





d. Install the rear planetary gear.
25. INSTALL DISC, PLATE AND FLANGE OF 1ST & REVERSE BRAKE





a. Install the 6 plates and discs.
Install in order:
P = Plate D = Disc
P - D - P - D - P - D - P - D - P - D - P - D
b. Install the flange, facing the flat end downward.





c. Using a screwdriver, install the snap ring.

HINT: Be sure that the end gap of the snap ring is not aligned with one of the cutouts.

26. CHECK 1ST & REVERSE BRAKE





a. Check the operation of the 1st & reverse brake piston.
Apply compressed air (392 - 785 kPa, 4 - 8 kgf/cm2, 57 - 114 psi) into the case passage and confirm that the piston moves.
If the piston does not move, disassemble and inspect it.





b. Using a filler gauge, check that pack clearance of the 1st & reverse brake.
Clearance: 1.92 - 2.68 mm (0.0756 - 0.1055 inch)