Curiosii for ever!
: Car repair manuals for everyone.
Home
>>
Toyota
>>
1987
>>
Cressida Wagon L6-2759cc 2.8L DOHC (5M-GE)
>>
Repair and Diagnosis
>>
Powertrain Management
>>
Relays and Modules - Powertrain Management
>>
Relays and Modules - Ignition System
>>
Ignition Control Module
>>
Testing and Inspection
>>
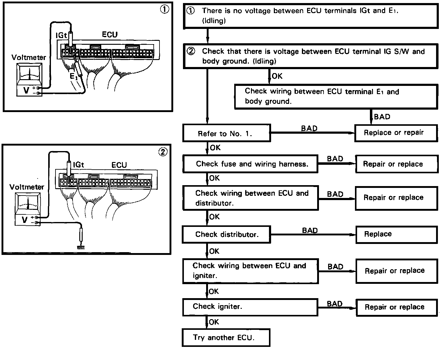
Circuit Test
Circuit Test
No. 7