Curiosii for ever!: Car repair manuals for everyone.

Heated Glass Element Switch: Testing and Inspection




Rear End Door Window / Back Window Defogger Switch Inspection

Manual A/C Type

1) Check rear end door window / back window defogger switch for operation as follows.
a) Rear end door window / back window defogger switch is built in HVAC control module (unit).
Remove HVAC control module (unit) referring to HVAC Control Unit Removal and Installation HVAC Control Unit Removal and Installation.
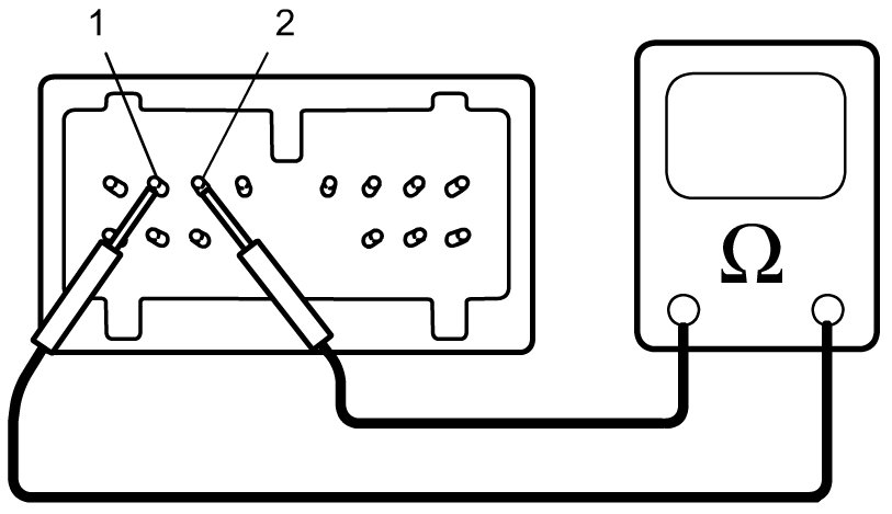
b) Check that there is continuity between terminal (1) and terminal (2) of HVAC control module (unit) when rear end door window / back window defogger switch is at ON position. (Rear end door window / back window defogger switch is kept in push.)
c) Check that there is no continuity between terminal (1) and terminal (2) of HVAC control module (unit) when rear end door window / back window defogger switch is at OFF position.

If check result does not meet the above conditions, replace HVAC control module (unit).





Auto A/C Type

Refer to Testing and Inspection Inspection of HVAC Control Module and Its Circuit:Auto A/C.