Curiosii for ever!
: Car repair manuals for everyone.
Home
>>
Suzuki
>>
2012
>>
SX4 2WD L4-2.0L
>>
Repair and Diagnosis
>>
Transmission and Drivetrain
>>
Continuously Variable Transmission/Transaxle
>>
Shift Interlock
>>
Shift Interlock Solenoid
>>
Service and Repair
>>
Shift Lock Solenoid Inspection
Shift Lock Solenoid Inspection
Shift Lock Solenoid Inspection
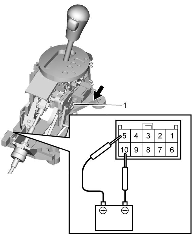
Check that shift lock solenoid rod (1) moves smoothly when battery voltage is conducted and it moves back.
If
solenoid
rod does not move smoothly, replace.