Curiosii for ever!: Car repair manuals for everyone.

Seat Occupant Classification Module - Air Bag: Testing and Inspection




OCM Power Supply and Ground Circuit Check

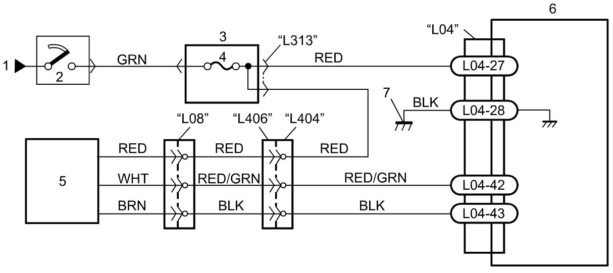
Wiring Diagram










Troubleshooting

1. Battery voltage check

Measure voltage on battery.

Is voltage in 9 - 16 V?
YES -
Go to Step 2.
NO -
Check charging system and repair as necessary referring to Testing and Inspection Generator Test.

2. Connection check

Check for loose each connection.

Is it connected securely?
YES -
Go to Step 3.
NO -
Intermittent trouble. Check for intermittent trouble referring to Inspection of Intermittent and Poor Connections Inspection of Intermittent and Poor Connections:Advanced Air Bag
If OK, substitute a known-good SDM and recheck.

3. Circuit fuse check

With ignition switch turned OFF, check "A/B" fuse for blowing.

Is "A/B" fuse in good condition?
YES -
Go to Step 4.
NO -
Repair defective wire circuit. After repaired, replace "A/B" fuse.

4. OCM with sensor mat power supply voltage check

With ignition switch turned OFF, disconnect OCM connector.
Check for proper connection to OCM terminal at "L08-2".
With ignition switch turned ON, measure voltage between "L08-2" terminal and body ground.
Special Tool

(A): 09932-76010





Is voltage in 10 - 14 V?
YES -
Go to Step 5.
NO -
Repair defective wire circuit.

5. OCM with sensor mat ground circuit check

With ignition switch turned OFF, disconnect SDM connector "L04".
Check for proper connection to OCM terminal at "L08-3".
Check for proper connection to SDM terminal at "L04-43".
Measure resistance between "L04-43" and "L08-3" terminals.
Special Tool

(A): 09932-76010





Is each measured resistance 1ohms or less?
YES -
OCM power supply and ground circuit is good condition.
NO -
Repair defective wire circuit.