Curiosii for ever!: Car repair manuals for everyone.

Windshield Washer Reservoir: Service and Repair




Washer Tank and Washer Pump Removal and Installation

Removal

1) Remove right headlight unit. Removal and Replacement
2) Disconnect washer pump connector (1) and washer hose (2).
3) Remove washer tank bolts (3) and remove washer tank (4).





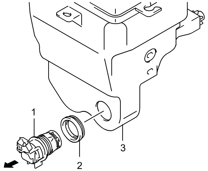
4) Pull washer pump (1) together with washer pump grommet (2) in direction of arrow to remove them from washer tank (3).






Installation

Washer Pump Inspection

Reverse removal procedure noting the following points.

- Tighten washer tank bolts in numerical order ("1" through "3") to specified torque.

Tightening torque
Washer tank bolt (a): 6.0 Nm (0.61 kgf-m, 4.5 lbf-ft)





- Aim headlights after installing washer pump and tank.