Curiosii for ever!: Car repair manuals for everyone.

Valve Body: Service and Repair




Valve Body Assembly Removal and Installation

Removal

1) Remove CVT oil pan and oil strainer. CVT Oil Pan and Oil Strainer Removal and Installation
2) Disconnect ROM connector (1), solenoid connector (3) and remove wire harness clamp (2).
3) Remove solenoid harness fastening bolt (4), if necessary.





4) Remove oil strainer bracket (1) from valve body by removing bolts.





5) Remove manual valve lever (1) by removing nut (2) and spring washer (3).





6) Remove spacer (1) from valve body.





7) Remove valve body assembly according to the following procedure.
a) Insert a pin (1) (3 mm dia.) through linkage stopper hole (2) in order to retain pulley ratio linkage.





b) Remove valve body bolts (1) and (2).





c) Remove valve body assembly (1) from transmission case.

NOTE:
Keep the pin inserted at step a) as it is while removing the valve body.





8) Remove lip seal (1) from transmission case.





9) Remove solenoid harness from transmission case, if necessary.

Installation

1) Install solenoid harness to transmission case, if removed.
2) Apply CVT fluid to new lip seal (1) and put it onto transmission case.





3) Install valve body assembly according to the following procedure.
a) When installing new valve body assembly, insert a pin (1) (3 mm dia.) through linkage stopper hole (2) to retain pulley ratio linkage (3).
b) Make sure that linkage lever end is engaged with stepping motor (4) as illustrated.





c) Install valve body assembly to transmission case engaging pulley ratio linkage (1) with primary pulley shift shaft knob (2).





d) Remove pin installed in step a).
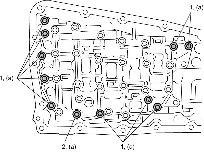
e) Install valve body bolts noting the length and tighten them to specified torque.

Tightening torque
Valve body bolt (a): 7.9 Nm (0.81 kgf-m, 6.0 lbf-ft)









4) Install spacer (1) to valve body.





5) Install manual valve lever (1) to manual valve operating shaft engaging the lever with manual valve spool (2).
6) Install spring washer (3) and nut (4), then tighten nut to specified torque.

Tightening torque
Manual valve lever nut (a): 22 Nm (2.2 kgf-m, 16.5 lbf-ft)





7) Install oil strainer bracket (1) to valve body and tighten oil strainer bracket bolts (2) to specified torque.

Tightening torque
Oil strainer bracket bolt (a): 7.9 Nm (0.81 kgf-m, 6.0 lbf-ft)





8) Tighten solenoid harness bolt (4) to specified torque, if removed.

Tightening torque
Solenoid harness bolt (a): 7.0 Nm (0.71 kgf-m, 5.5 lbf-ft)

9) Connect ROM connector (1), solenoid connector (3) and fix wire harness with clamp (2).





10) Install oil pan and oil strainer on transmission case. CVT Oil Pan and Oil Strainer Removal and Installation
11) Replenish CVT with fluid. Removal and Replacement
12) Check CVT fluid level. Removal and Replacement
13) Check for CVT fluid leakage after warming up CVT. Procedures
14) After replacing valve body assembly, perform learning control initialization. Programming and Relearning