Curiosii for ever!: Car repair manuals for everyone.

Auto Steering Lock Unit Removal and Installation




Auto Steering Lock Unit Removal and Installation

Steering Wheel and Column Components

Removal

1) Remove steering column (1). Steering Column Removal and Installation
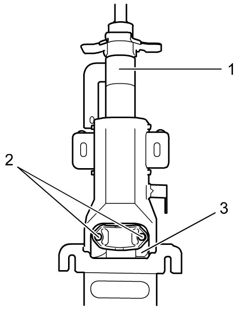
2) Loosen lock cover bolts (1) using chisel, and remove steering lock cover (2) from steering column (if equipped).





3) Loosen steering lock bolts (2) using chisel, and remove auto steering lock unit (3) from steering column.






Installation

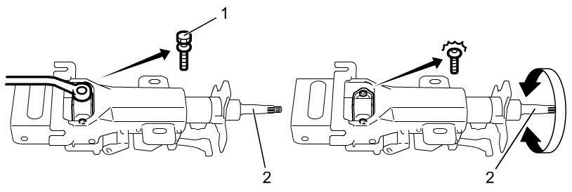
1) Install auto steering lock unit with column cover screw mount hole (1) facing vehicle forward.











2) Tighten new steering lock bolt (shear-off bolt) (1) until bolt-head is wrenched off.
3) Install steering column. Steering Column Removal and Installation
4) Push engine switch to change ignition mode of keyless push start system to "ACC" or "ON" and check that steering shaft (2) rotates smoothly. Then change ignition mode to "OFF" and check that steering shaft (2) is locked when it is turned a little.





5) Install steering lock cover (1) and tighten new lock cover bolts (shear-off bolt) (2) until bolt-head is wrenched off.





6) Check steering column. Steering Column Inspection