Curiosii for ever!: Car repair manuals for everyone.

Valve Clearance: Service and Repair




Valve Clearance Inspection and Adjustment

Inspection

1) Disconnect negative (-) cable at battery.
2) Remove cylinder head cover. Cylinder Head Cover Removal and Installation
3) Insert socket wrench through service hole (2) of front fender lower lining (1). Turn crankshaft pulley (3) clockwise and align crankshaft pulley notch mark (5) with 0° (TDC) mark (4) of timing chain cover. Matchmarks of camshaft housing No.1 (6) and exhaust camshaft timing sprocket (7) have to be aligned to each other.















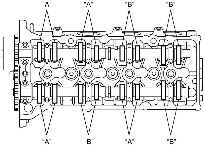
4) Measure valve clearances with feeler gauge using the following procedure.
a) Measure valve clearances of "A" valves as indicated in the following figure.
b) Turn crankshaft pulley 360° clockwise.
c) Measure valve clearances of "B" valves as indicated in the following figure.






If valve clearance is out of specification, record valve clearance and adjust it to specified value.

Valve clearance specification
When cold (ECT: 15 - 25 �C (59 - 77 �F)):
Intake: 0.16 - 0.24 mm (0.0063 - 0.0094 in.)
Exhaust: 0.31 - 0.39 mm (0.0122 - 0.0153 in.)

Adjustment

1) Remove tappet to be replaced. Camshaft and Tappet Removal and Installation
2) Select proper size of tappet as follows.
a) Using a micrometer, measure the thickness of the removed tappet (1).
b) Calculate the thickness of new tappet using the following formula.

NOTE:
If the number in the second decimal places is odd, use (A - 0.01) tappet.

Intake side:
A = B + C - 0.20 mm (0.0078 in.)
Exhaust side:
A = B + C - 0.35 mm (0.0137 in.)
A: Thickness "a" of new tappet
B: Thickness "a" of removed tappet
C: Measured valve clearance





c) Select new tappet from available spare parts that is closest in size to the calculated value.
3) Install tappets and camshafts. Camshaft and Tappet Removal and Installation
4) Recheck valve clearance.