Curiosii for ever!
: Car repair manuals for everyone.
Home
>>
Suzuki
>>
2012
>>
Kizashi AWD L4-2.4L
>>
Repair and Diagnosis
>>
Lighting and Horns
>>
Brake Light Switch
>>
Service and Repair
>>
Brake Light Switch Inspection
Brake Light Switch Inspection
Brake Light Switch
Inspection
Brake Light Switch
Removal and Installation
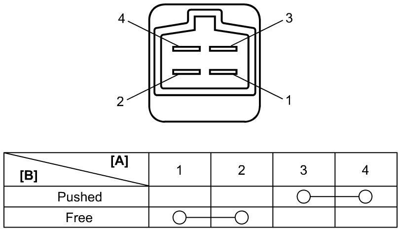
Check
brake light switch
for continuity between terminals at each switch position.
If check result is not as specified, replace switch.