Curiosii for ever!: Car repair manuals for everyone.

EVAP Leak Check Module Inspection




EVAP Leak Check Module Inspection

Check each component as follows.

NOTE:

For operation of EVAP leak check module, refer to EVAP Leak Check System Description EVAP Leak Check System Description.

EVAP Canister Vent Valve Check

EVAP Canister Removal and Installation

NOTE:

If compressed air is used to check the EVAP canister vent valve, the EVAP leak check module can become damaged, leading to fuel vapor leaks.

Check the EVAP canister vent valve only by blowing with your mouth.

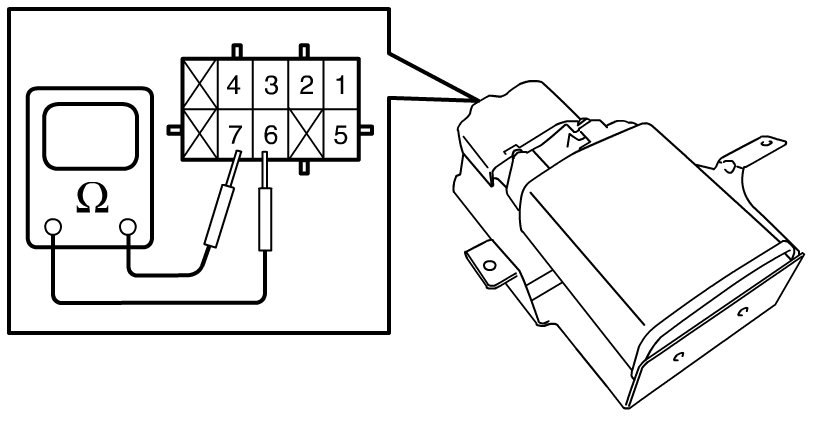
1) Check coil resistance of EVAP canister vent valve between terminal "6" and "7" in EVAP leak check module.

If resistance is as specified, proceed to next step. If not, replace.

Coil resistance of EVAP canister vent valve
25 - 30 ohms at 20 °C (68 °F)






2) Remove EVAP leak check module (1) from EVAP canister.
3) Blow breath (2) from port (3). Breath should come out of port (4).

If not, replace EVAP leak check module.
4) Connect 12 V-battery to terminal "6" and terminal "7" of EVAP leak check module. In this state, blow breath from port (3).

Breath should not come out of port (4).

If check result is not specified above, replace EVAP leak check module.

WARNING:
If vacuum is applied by sucking at the valve, there is a risk of inhaling harmful fuel vapor that may present inside the valve.

Be sure to use a hand vacuum pump to apply vacuum.

NOTE:
If the battery is connected to the wrong terminals of the EVAP leak check module, the EVAP canister vent valve in the EVAP leak check module may be damaged.

Be sure to connect the battery to the correct terminals of the EVAP leak check module.





EVAP Leak Detection Pump Check

EVAP Leak Check Module Removal and Installation
1) Check EVAP leak detection pump in EVAP leak check module as follows.
a) Connect spherical pneumatic plastic bag (1) with approximately 12.5 cm (4.92 in.) diameter (volume of a sphere: 1L) to EVAP leak check module using a rubber band (2) as shown in figure.
b) Operate EVAP canister vent valve and EVAP leak detection pump by connecting 12 V-battery to EVAP leak check module terminals as shown in figure.
c) Check that air in the pneumatic plastic bag is fully evacuated by EVAP leak detection pump within approximately 2 minutes.
If check result is not as described above, replace EVAP leak check module.

NOTE:
If the battery is connected to the wrong terminals of the EVAP leak check module, the EVAP canister vent valve and EVAP leak detection pump in the EVAP leak check module may be damaged.

Be sure to connect the battery to the correct terminals of the EVAP leak check module.





EVAP Leak Check Pressure Sensor (combine with BARO sensor) check

EVAP Leak Check Module Removal and Installation

Check barometric pressure and reference vacuum pressure as follows.
1) Initial (barometric) pressure check:
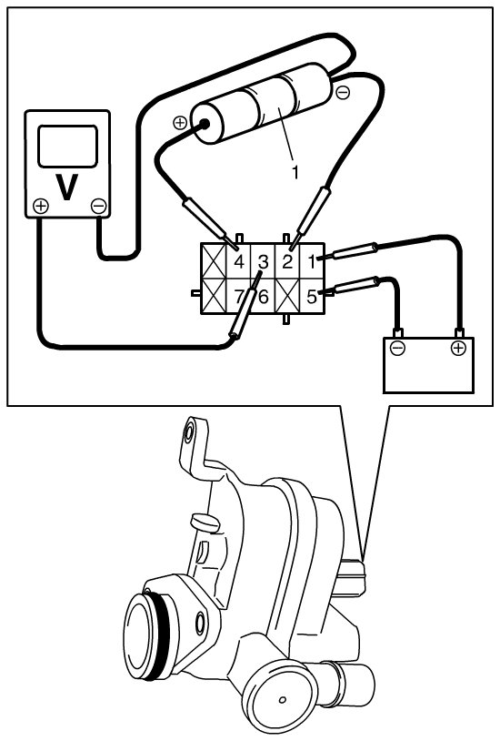
a) Arrange 3 new 1.5 V batteries (1) in series and connect its positive terminal to terminal "4" for EVAP leak check pressure sensor of EVAP leak check module and negative terminal "2".
b) Check EVAP leak check pressure sensor output voltage (barometric pressure signal voltage) between terminal "3" and "Ground" terminal.
If output voltage is out of specification, replace EVAP leak check module.
If output voltage is within specified value, go to next step.

NOTE:
If the battery is connected to the wrong terminals of the EVAP leak check module, the EVAP leak check pressure sensor in the EVAP leak check module may be damaged.

Be sure to connect the battery to the correct terminals of the EVAP leak check module.

EVAP leak check pressure sensor output voltage for initial (barometric) pressure (Terminal "4" voltage 4.5 - 5.5 V, ambient temp. 20 - 30 °C (68 - 86 °F))










2) Reference vacuum pressure (reference orifice vacuum) check:
a) In the state of Step 1), operate EVAP leak detection pump by connecting 12 V-battery to terminal "1" and terminal "5" of EVAP leak check module. Under pump operating, check that pressure sensor output voltage (reference orifice vacuum) becomes lower than pressure sensor output voltage of Step 1) by approx. 0.1 V.
If sensor voltage is out of specification, replace EVAP leak check module.











EVAP Leak Check Module Visual Check

EVAP Canister Removal and Installation

Check EVAP leak check module and its O-ring (1) for damage and deterioration.

If malfunctioning is found, replace.