Curiosii for ever!: Car repair manuals for everyone.

Expansion Valve: Service and Repair




Expansion Valve Removal and Installation

HVAC Unit Components

Removal

1) Recover refrigerant from the A/C system with recovery and recycling equipment referring to "Recovery" in Service and Repair Operation Procedure for Refrigerant Charge:Manual A/C.
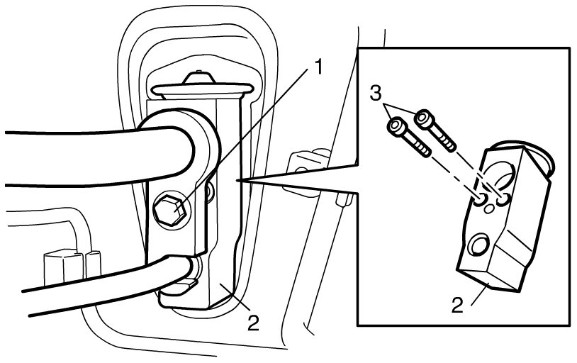
2) Loosen a bolt (1) and remove pipes from expansion valve (2).
3) Loosen bolts (3) and remove expansion valve.






Installation

Expansion Valve Inspection

Reverse removal procedure noting the following instructions.

- Apply compressor oil to O-ring of expansion valve and pipes.
- Tighten expansion valve bolts to specified torque.

Tightening torque
Expansion valve bolt 4.5 Nm (0.45 kgf-m, 3.5 lbf-ft)

- Evacuate and charge the A/C system referring to "Evacuation" and "Charge" in Service and Repair Operation Procedure for Refrigerant Charge.