Curiosii for ever!
: Car repair manuals for everyone.
Home
>>
Suzuki
>>
2011
>>
SX4 2WD L4-2.0L
>>
Repair and Diagnosis
>>
Brakes and Traction Control
>>
Antilock Brakes / Traction Control Systems
>>
Traction Control Switch
>>
Service and Repair
>>
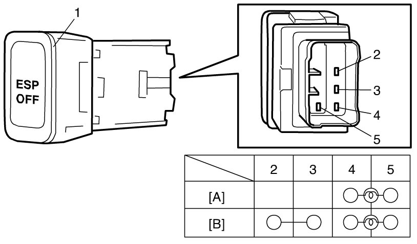
ESP OFF Switch Inspection
ESP OFF Switch Inspection
ESP(R) OFF Switch Inspection
ESP(R) OFF Switch Removal and Installation
Check for continuity between terminals at each switch position.
If check result is not as specified, replace ESP(R) OFF switch (1).