Curiosii for ever!
: Car repair manuals for everyone.
Home
>>
Suzuki
>>
2011
>>
SX4 2WD L4-2.0L
>>
Repair and Diagnosis
>>
Body and Frame
>>
Grille
>>
Service and Repair
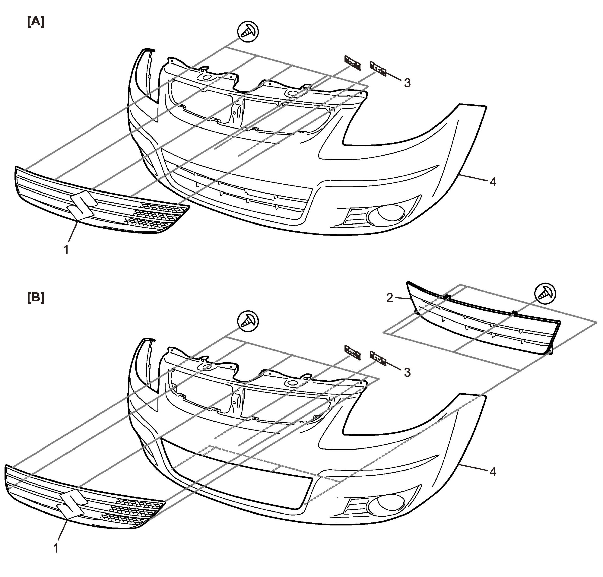
Grille: Service and Repair
Radiator Grille Removal And Installation