Curiosii for ever!: Car repair manuals for everyone.

Secondary Pulley Speed Sensor Removal and Installation




Secondary Pulley Speed Sensor Removal and Installation

NOTE:

Be careful not to drop washer when removing and installing secondary pulley speed sensor.

Removal

1) Disconnect negative (-) cable at battery.
2) Remove air cleaner assembly. Air Cleaner Assembly Removal and Installation
3) Disconnect connector from secondary pulley speed sensor.
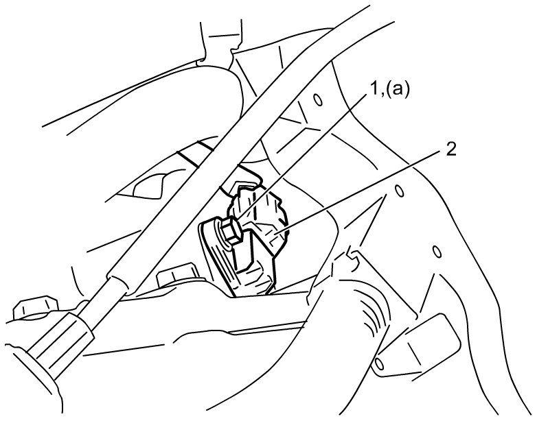
4) Remove secondary pulley speed sensor (2) from transaxle by removing secondary pulley speed sensor bolt (1).

Installation

Primary Pulley Speed Sensor and Secondary Pulley Speed Sensor Inspection

Reverse removal procedure noting the following points.

- Apply CVT fluid to new O-ring of sensor.
- Tighten secondary pulley speed sensor bolt to specified torque.

Tightening torque
Secondary pulley speed sensor bolt (a): 5.9 Nm (0.60 kgf-m, 4.5 lbf-ft)





- Connect connector and fix wire harness with clamp securely.