Curiosii for ever!: Car repair manuals for everyone.

Transfer Output Retainer Assembly Disassembly and Reassembly

Transfer Output Retainer Assembly Disassembly and Reassembly
Reference: Transfer Dismounting and Remounting
Reference: Transfer Assembly Components
Reference: Transfer Assembly Disassembly and Reassembly

Disassembly
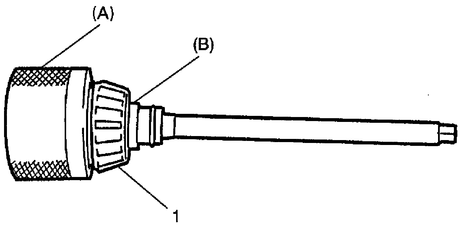
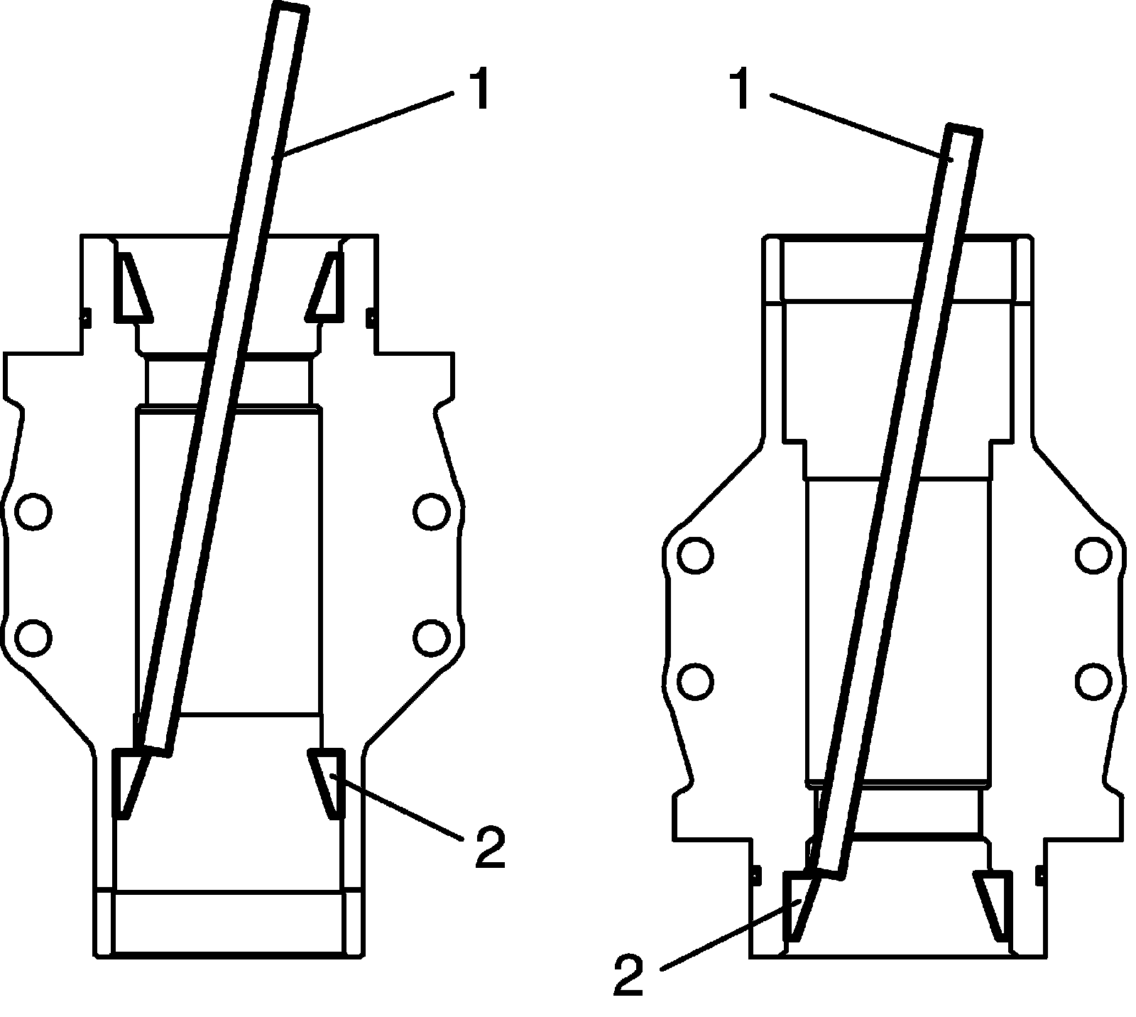
1) Remove transfer output flange nut while holding flange (1) by using special tool.

Special Tool
(A): 09930-40113





2) Remove transfer output flange (1) by bearing puller (2).





3) Drive out bevel pinion (1) from transfer output retainer by tapping it with plastic hammer (2).





4) Drive out front taper roller bearing (1) from bevel pinion (3) by using bearing puller (2) and hydraulic press.





5) Remove oil seal (1) by using special tool.

Special Tool
(A): 09913-50121





6) Remove rear taper roller bearing (1), pump seal (3) and spacer (2).





7) Drive out outer races (2) (front and rear) by using brass bar (1).





Reassembly

CAUTION:
^ Bevel gear and pinion must be replaced as a set when either replacement becomes necessary.
^ When replacing taper roller bearing, replace as inner race and outer race assembly.


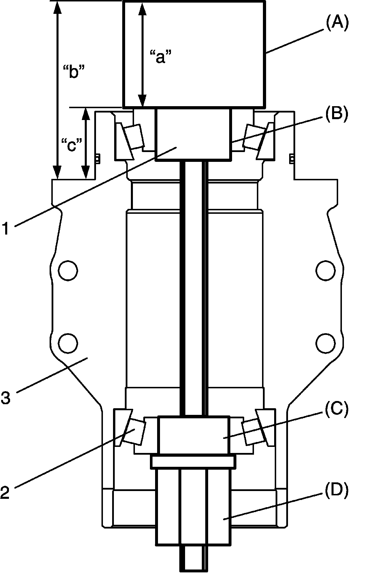
1) To mesh bevel gears correctly, it is prerequired to install bevel pinion to transfer output retainer properly by using adjusting shim (bevel pinion shim) as follows.
a) Install front taper roller bearing (1) to bevel pinion dummy (special tools).

Special Tool
(A): 09922-76140
(B): 09922-76430





b) Install bevel pinion dummy (1), rear taper roller bearing (2) and special tools to transfer output retainer (3).

Special Tool
(A): 09922-76140
(B): 09922-76420
(C): 09922-76340
(D): 09922-76150

NOTE:
This installation requires no spacer or oil seal.








c) Tighten bevel pinion nut (special tool) so that specified bearing preload is obtained.

NOTE:
Before taking measurement, check for rotation by hand more than 15 revolutions.

Rotational torque of bevel pinion (Bearing preload)
0.50 - 1.30 Nm (0.05 - 0.13 kgf-m, 0.35 - 0.95 lbf-ft)





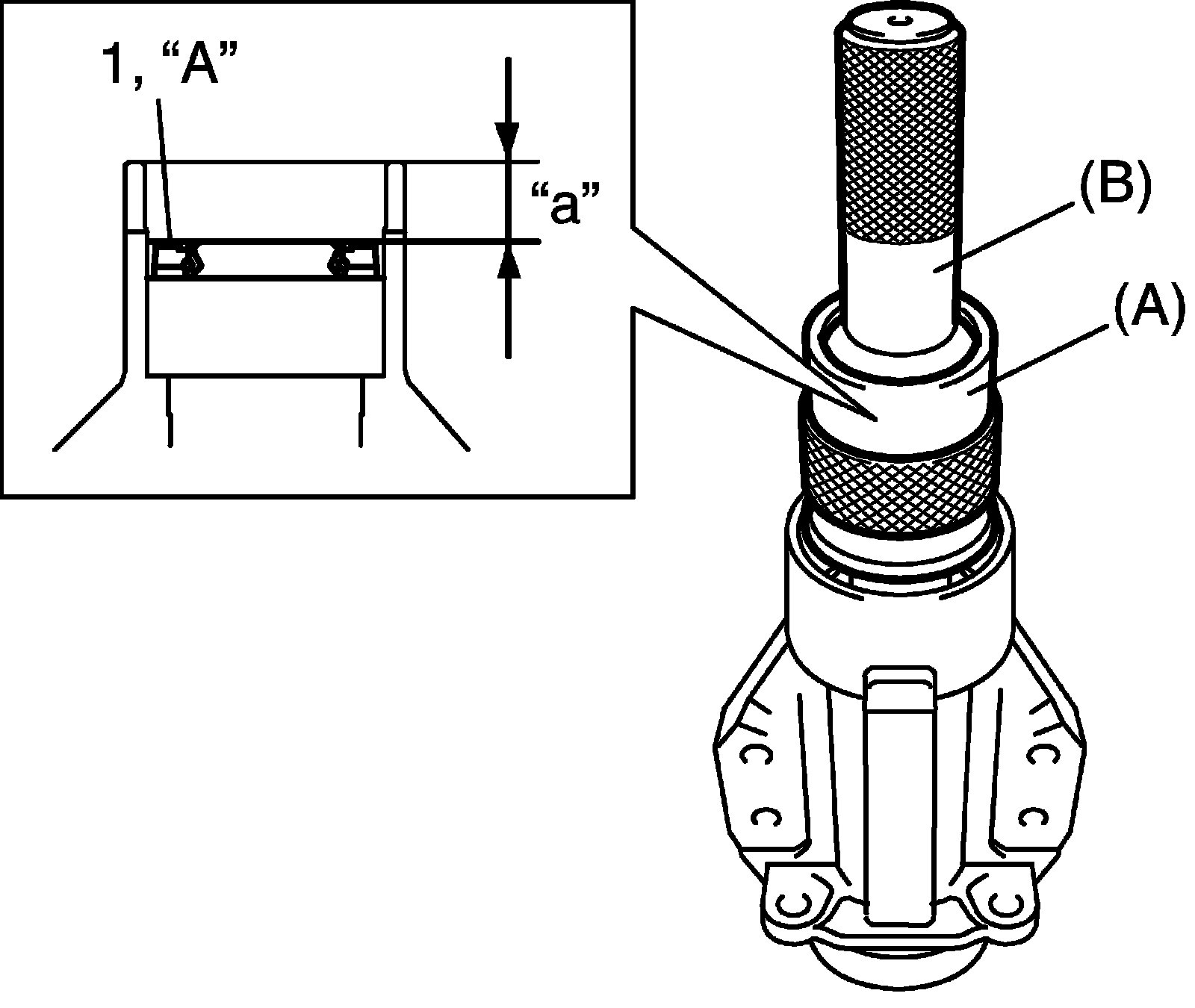
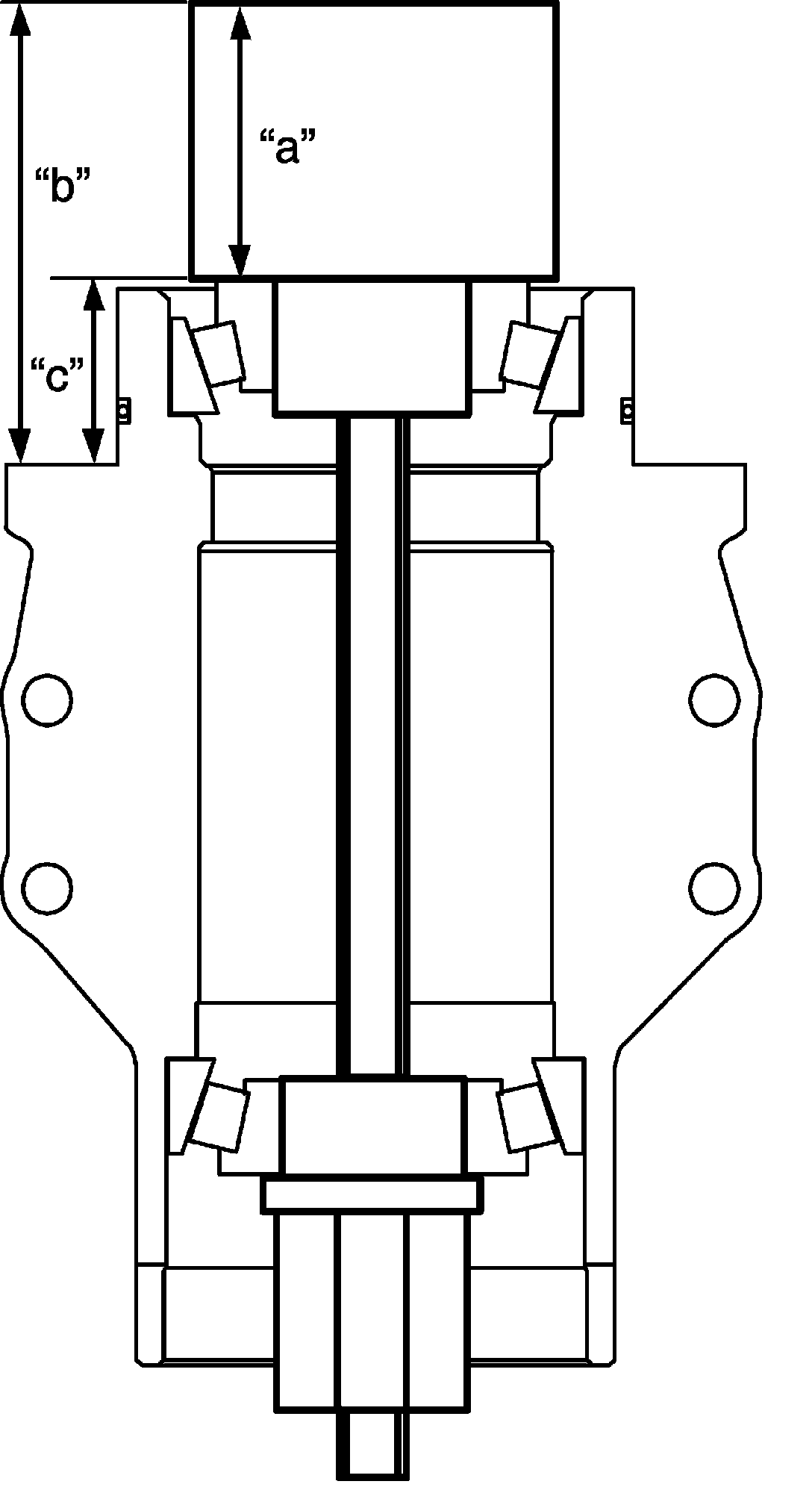
d) Measure height "b" in figure by using vernier caliper. Calculate "c" by using measured value.








e) Obtain adjusting shim thickness by the following equation.











f) Select a shim closest to the calculated value (necessary shim thickness) from among the available shims or combine shims to become closest to calculated value.

For example:
Measure distance "b" is 69.95 mm (2.754 in.).
"c" = 69.95 mm (2.754 in.) - 40.0 mm (1.757 in.) = 29.95 mm (1.179 in.)
"f" = 29.95 mm (1.179 in.) + 74.0 mm (2.913 in.) - 101.95 mm (4.014 in.) = 2.0 mm (0.079 in.)
Calculated thickness of new shim = 2.0 mm (0.079 in.)

Available bevel pinion shim thickness
0.30, 1.85, 1.88, 1.91, 1.94, 1.97, 2.00, 2.03, 2.06, 2.09, 2.12 and 2.15 mm (0.012, 0.072, 0.074, 0.075, 0.076, 0.077, 0.078, 0.079, 0.081, 0.082, 0.083 and 0.084 in.)

2) Press-fit outer races (front and rear) by using special tool and hydraulic press.

Special Tool
(A): 09913-75520





3) Press-fit front taper roller bearing (1) by using special tool and hydraulic press.

Special Tool
(A): 09925-18011





4) Install bevel pinion with new pinion shaft spacer (1) and new pump seal (2) to transfer output retainer (3).





5) Drive in rear taper roller bearing by using special tool and tapping lightly with plastic hammer.

Special Tool
(A): 09913-84510





6) Apply grease to new oil seal lip.

"A": Grease 99000-25011 (SUZUKI Super Grease A)

7) Drive in oil seal (1) by using special tools and hammer.

Special Tool
(A): 09940-54910
(B): 09913-76010

Transfer output flange oil seal installing depth
"a": 21.0 - 22.0 mm (0.82 - 0.86 in.)





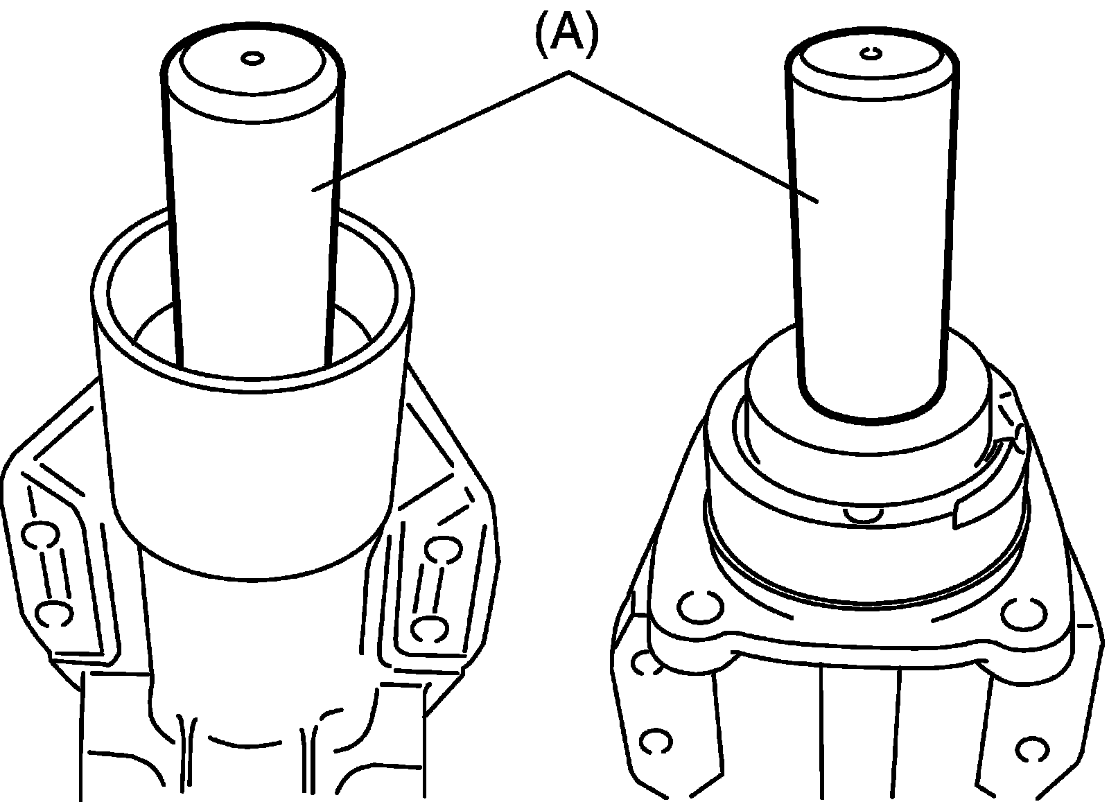
8) Install transfer output flange (1) by tapping with plastic hammer and tighten transfer output flange nut gradually so as rotational torque of bevel pinion to be in specified value.

NOTE:
^ If rotational torque of bevel pinion exceeds specification given in the following, replace pinion shaft spacer and tighten flange nut.
^ Before taking measurement of rotational torque, rotate pinion over ten rounds in advance.

Bevel pinion bearing preload
: 0.5 - 1.3 Nm (0.05 - 0.13 kgf-m, 0.35 - 0.95 lbf-ft)

Special Tool
(A): 09930-40113