Curiosii for ever!: Car repair manuals for everyone.

Flex Plate: Service and Repair

Flywheel / Drive Plate Removal and Installation

Removal
1) Remove transaxle assembly.
^ M/T model:
^ CVT model:
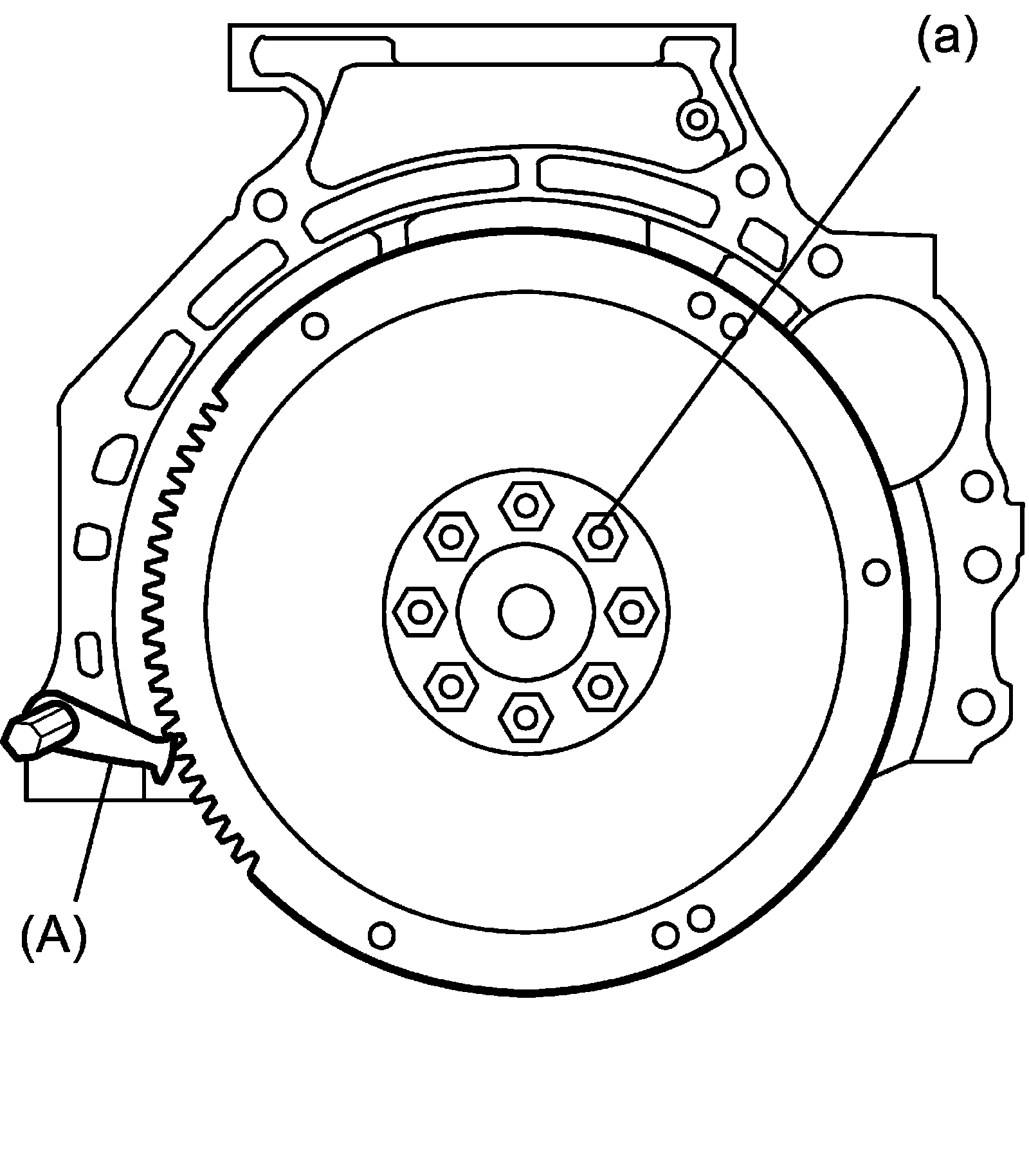
2) Wedge a special tool in ring gear teeth to lock flywheel or drive plate as shown in figure.

Special Tool
(A): 09924-17811





3) Remove flywheel or drive plate from engine assembly.

Installation
Reverse removal procedure noting the following.
^ Install new drive plate bolts or flywheel bolts.
^ Wedge a special tool in ring gear teeth to lock flywheel or drive plate as shown in figure.

Special Tool
(A): 09924-17811

^ Tighten flywheel bolts or drive plate bolts to specified torque.

Tightening torque
Flywheel bolt (a): 70 Nm (7.1 kg-m, 52.0 lbf-ft)
Drive plate bolt (a): 70 Nm (7.1 kg-m, 52.0 lbf-ft)