Generator Disassembly and Reassembly
Generator Disassembly and ReassemblyDisassembly
1. For easier reinstallation, provide match marks (3) on drive end frame (1) and rear end frame (2) as shown.
2. Remove end frame bolts (1) from generator.
3. With lever (1) inserted between stator core (2) and drive end frame (3), separate generator into drive end frame (3) and rear side.
4. Remove pulley as follows.
- M/T model
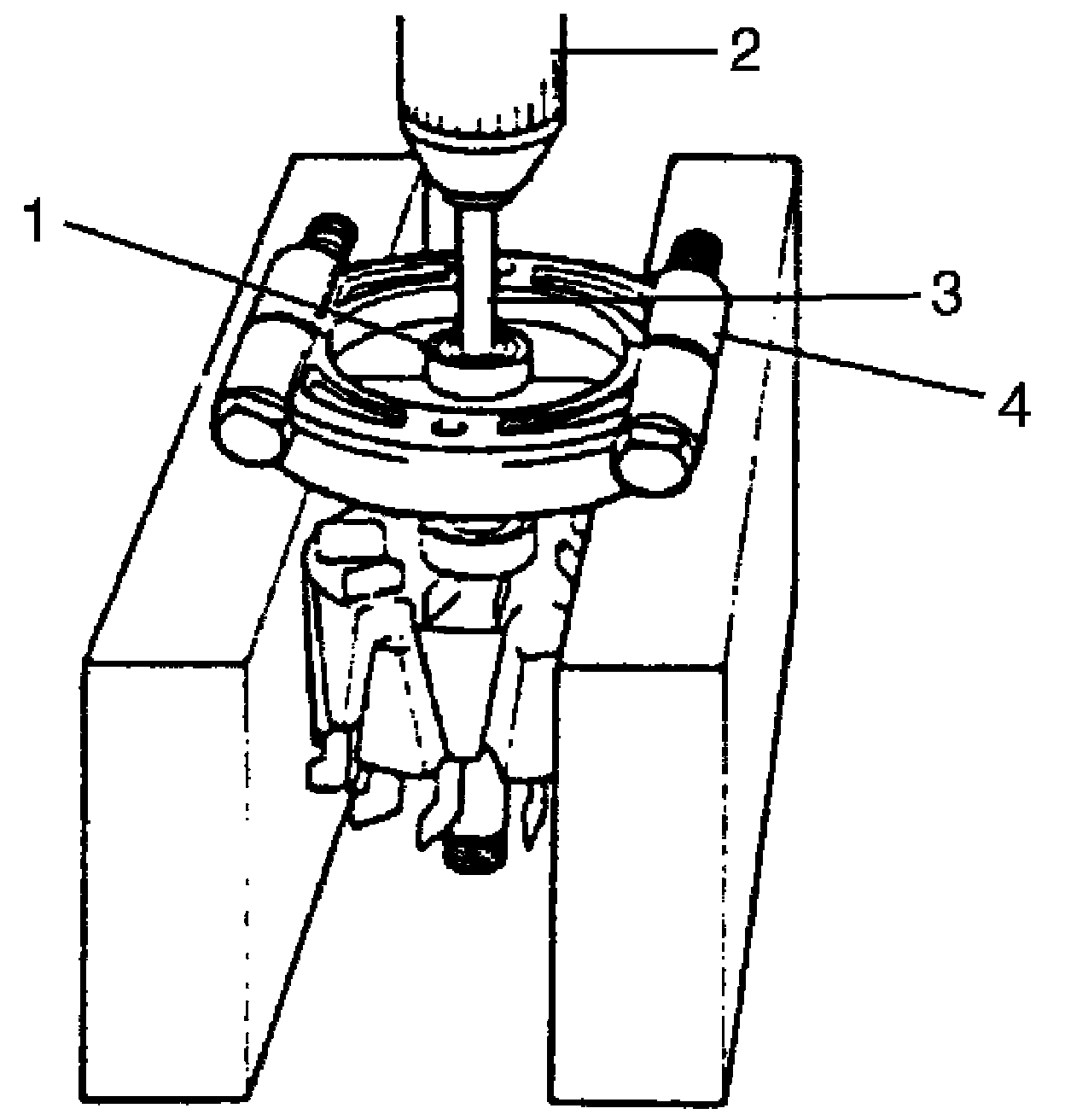
a. Hold rotor (2) using vise (4).
CAUTION:
- When using vise (4), put clean cloth (3) between rotor (2) and vise (4) so as not to cause damage to rotor (2).
- Be sure to hold the location A. Do not hold the location B as it does not have enough structural strength.
b. Loosen pulley nut and remove pulley (1).
- CVT model
a. Hold rotor (2) using vise (4).
NOTE:
- When using vise (4), put clean cloth (3) between rotor (2) and vise (4) so as not to cause damage to rotor (2).
- Be sure to hold the location A. Do not hold the location B as it does not have enough structural strength.
b. Remove pulley (1) using special tool.
Special Tool
(A): 09932-96510
5. Remove drive end frame from rotor.
6. Remove bearing retainer screws (1) and bearing retainer.
7. Remove drive end bearing from drive end frame (1) using special tool and hydraulic press (2).
Special Tool
(A): 09943-88211
8. Remove rear end bearing (1) using hydraulic press (2), general rod (3) and general tool (4).
9. Remove three screws (1) and generator "B" terminal nut (2).
10. Remove stator with IC regulator assembly and rectifier assembly from rear end frame.
11. Unsolder stator leads (1) and remove stator (2) from rectifier assembly.
12. To remove brush, remove holder (1) from brush holder (2) and then disconnect brush wire (3) from regulator terminal using soldering iron.
Reassembly
Reverse disassembly procedure for reassembly noting the following.
- Tighten each bolt, nut, screw and pulley (CVT model) to specified torque referring to Generator Components.
- Be sure to install brushes (1) in the proper direction as shown and solder brush wires (2) and stator leads (3).
- Install drive end bearing to drive end frame (1) using special tool and hydraulic press (2).
Special Tool
(A): 09913-76010
- Push brushes into brush holder, then support brushes by inserting appropriate wire (1) before installing IC regulator assembly (2) to rear end frame (3).
NOTE: After installing rotor, remove wire.
- Heat bearing box part (1) of rear end frame (2) to a temperature of 50 - 60 °C (122 - 140 °F) and install rear end bearing (3) with rotor into bearing box.
CAUTION:
- Be sure to install rear end bearing with bearing box heated. If not, it may cause damage to rear end bearing.
- Do not apply grease to rear end bearing. Remove oil completely if found in bearing box of rear end frame.
NOTE: Check that match marks on front and rear end frame are aligned.
- After assembling generator, make sure that rotor turns smoothly.