Curiosii for ever!: Car repair manuals for everyone.

Accelerator Pedal Position Sensor: Service and Repair

Accelerator Pedal Position (APP) Sensor Assembly Removal and Installation

CAUTION:
- Do not expose APP sensor assembly to excessive shock like a dropping it. If APP sensor assembly has been exposed to excessive shock, it should be replaced.
- Be careful not to expose sensor section of APP sensor assembly to water.


NOTE: After replacing APP sensor assembly, perform calibration of throttle valve referring to Electric Throttle Control System Calibration.

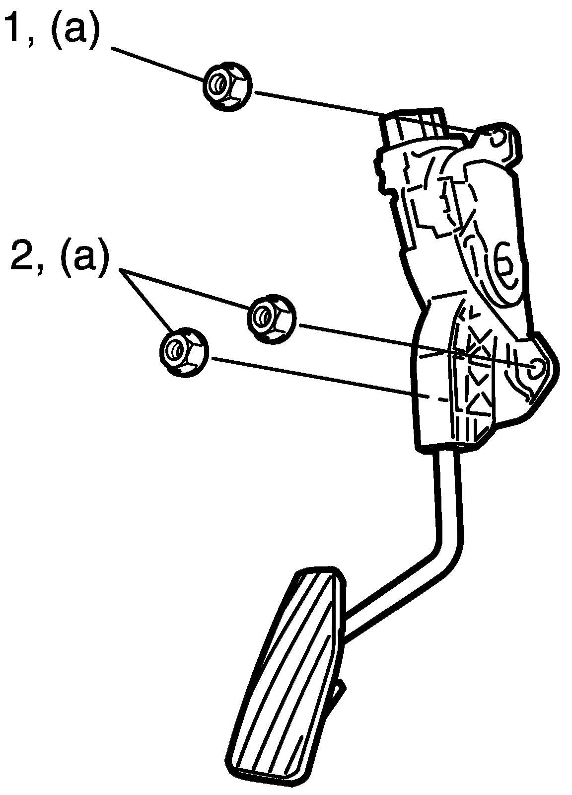
Removal
1. Disconnect negative cable at battery.
2. Disconnect connector from APP sensor assembly.
3. Remove APP sensor assembly from its bracket.

Installation
Reverse removal procedure for installation noting the following.
- Tighten APP sensor assembly upper nut (1) first and then lower nuts (2) to specified torque.

Tightening torque
APP sensor assembly nut (a): 6 N.m (0.6 kg-m, 4.5 lbf-ft)







- Connect connector to APP sensor assembly securely.