Curiosii for ever!
: Car repair manuals for everyone.
Home
>>
Suzuki
>>
2010
>>
SX4 4WD L4-2.0L
>>
Repair and Diagnosis
>>
Brakes and Traction Control
>>
Antilock Brakes / Traction Control Systems
>>
Testing and Inspection
>>
Component Tests and General Diagnostics
>>
Electronic Stability Program (ESP)
>>
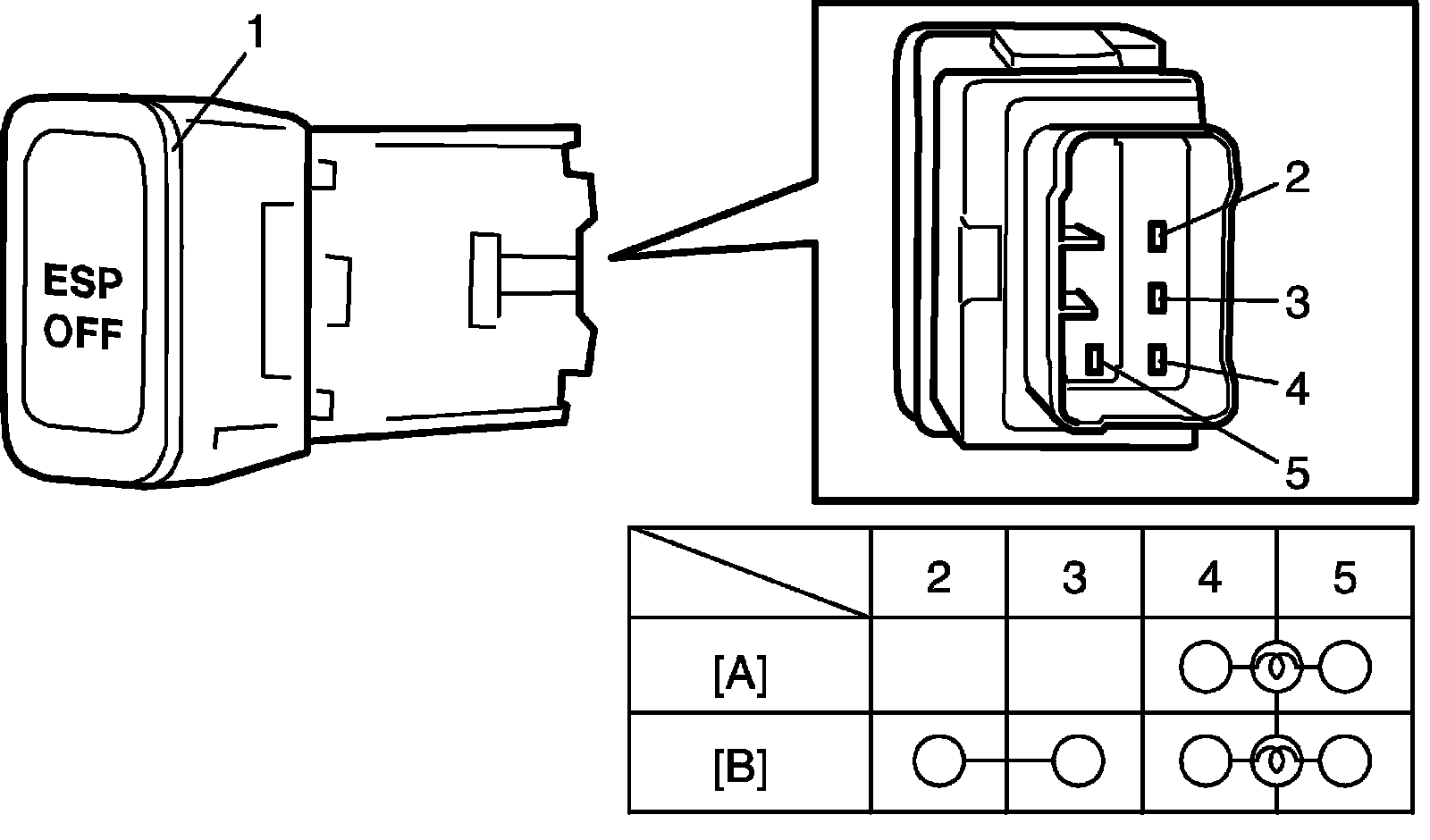
ESP(R) Off Switch Inspection
ESP(R) Off Switch Inspection
ESP(R) OFF Switch Inspection
Reference: ESP(R) OFF Switch Removal and Installation
Check for continuity between terminals at each switch position.
If check result is not as specified, replace ESP(R) OFF switch (1).