Curiosii for ever!: Car repair manuals for everyone.

Expansion Valve: Service and Repair

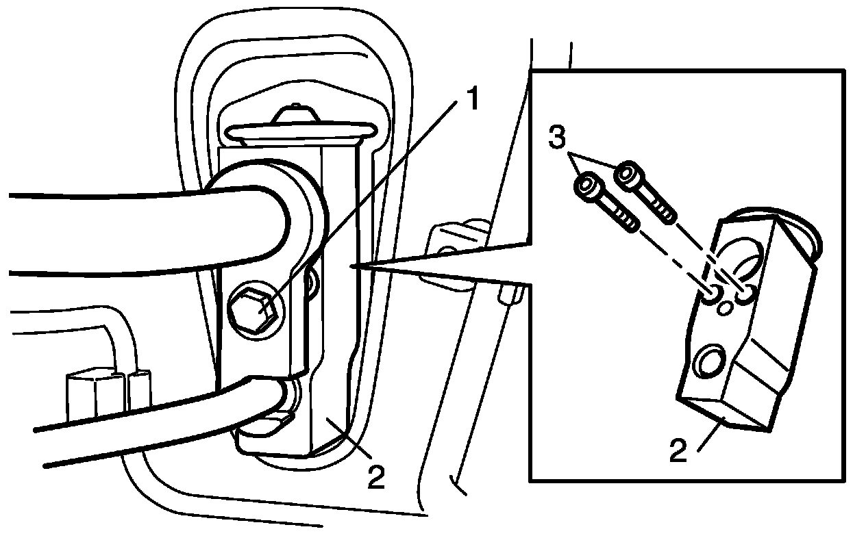
Expansion Valve Removal and Installation

Removal
1. Recover refrigerant from the A/C system with recovery and recycling equipment referring to "Recovery" in Operation Procedure for Refrigerant Charge:Manual A/C.
2. Loosen a bolt (1) and remove pipes from expansion valve (2).
3. Loosen bolts (3) and remove expansion valve.







Installation
Reverse removal procedure noting the following instructions.
- Apply compressor oil to O-ring of expansion valve and pipes.
- Tighten expansion valve bolts to specified torque.

Tightening torque
Expansion valve bolt: 4.5 N.m (0.45 kg-m, 3.5 lbf-ft)

- Evacuate and charge the A/C system referring to "Evacuation" and "Charge" in Operation Procedure for Refrigerant Charge:Manual A/C.